EasyManua.ls Logo

Snorkel S3370BE - Fuel Gauge Option

Snorkel S3370BE
134 pages
Print Icon
To Next Page IconTo Next Page
To Next Page IconTo Next Page
To Previous Page IconTo Previous Page
To Previous Page IconTo Previous Page
Loading...
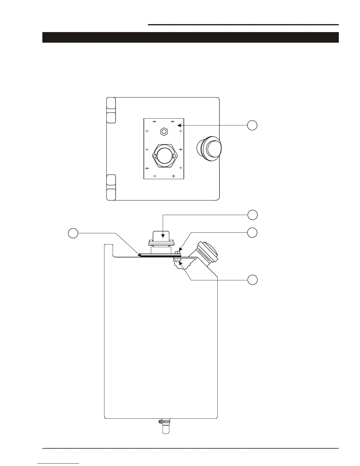
Fuel gauge option
Item Part No Qty Description
0. 11507 1 Fuel gauge option
1. 11430-9 1 Top plate fuel tank
2. 0070483 1 Fuel gauge
3. 11430-5 1 Gasket
4. 11430-1 1 Base plate weld
5. 3611-06 10 Nylock nut
SR3370 & SR2770 – 13184B Rev D page 4 - 5
Fuel gauge option
4
5
2
3
1

Table of Contents

Related product manuals