EasyManua.ls Logo

Sony AVD-S50 - Front Panel Display

Sony AVD-S50
168 pages
Print Icon
To Next Page IconTo Next Page
To Next Page IconTo Next Page
To Previous Page IconTo Previous Page
To Previous Page IconTo Previous Page
Loading...
11
GB
SACD
PROGRAM
SHUFFLE
REPEAT1
PBC
TRACK INDEX M S PCM
CD MP3
VIDEO CD
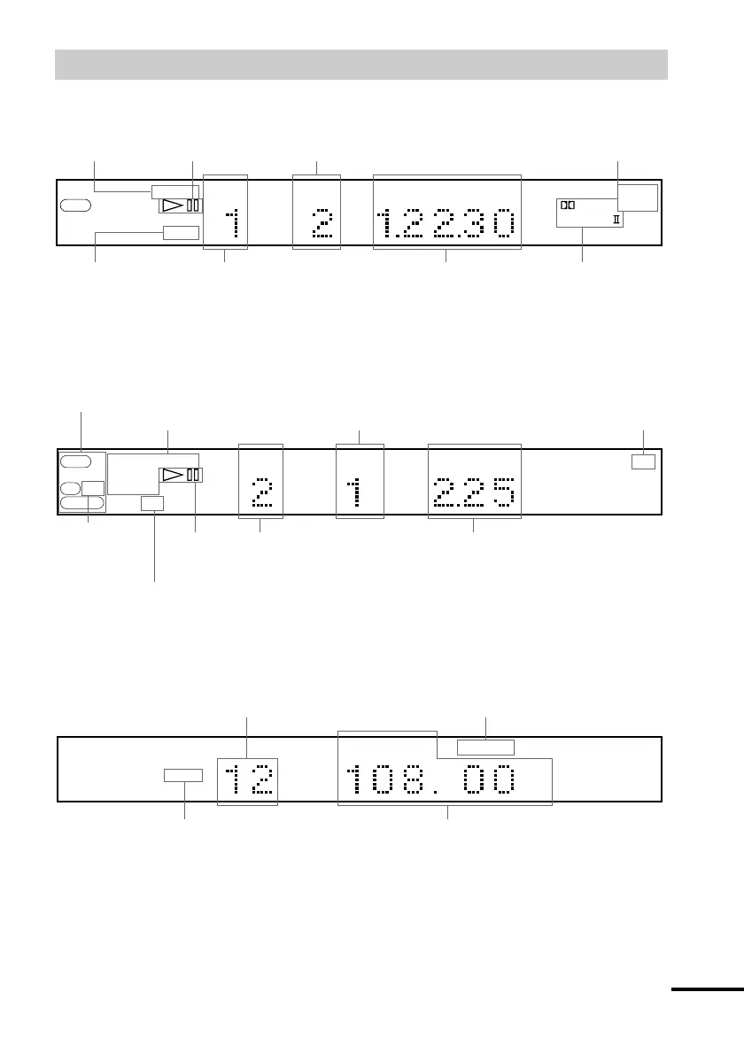
When playing back a Super Audio CD, CD, VIDEO CD, or MP3
When listening to the radio
Playing status Current track number
Current play mode
Lights up during
PBC playback
(VIDEO CD only)
Playing time
Current index number
(The index indicator does not appear during
Super Audio CD or MP3 playback.)
Playing status
Current title
number
Playing time
Current sound
Current play mode Current chapter number
Current surround
format
Front Panel Display
When playing back a DVD
continued
Current sound
TUNED MONO ST
FM AM
MHz
Current band
Preset number Monaural/Stereo effect
Current station
DIGITAL
REPEAT1
PRO
ANGLE
LOGIC
TITLE CHAPTER H M S PCM
DTS
DVD
Current disc
Lights up during
MP3 playback
Lights up when you can
change the angle

Table of Contents

Other manuals for Sony AVD-S50

Related product manuals