EasyManua.ls Logo

Sony CCD-TRV36E - Mechanical Section Adjustment; Operating Without a Cassette; Tape Path Adjustment; Preparations for Adjustments

Sony CCD-TRV36E
181 pages
Print Icon
To Next Page IconTo Next Page
To Next Page IconTo Next Page
To Previous Page IconTo Previous Page
To Previous Page IconTo Previous Page
Loading...
5-35
6) Connect the oscilloscope.
Channel 1: Pin 6 of CN910 of VC-215 board
External trigger: Pin of CN910 of VC-215 board
Connect the oscilloscope via the CPC-7 jig
(J-6082-382-A).
7) Playback the alignment tape for tracking. (WR5-1CP)
8) Check that the RF waveform of the oscilloscope is flat at both
the entrance and the exit.
If not flat, perform necessary adjustment according to the separate
“8 mm Video Mechanical Adjustment Manual VII (B
Mechanism)”.
9) Perform “Processing after operations”, after completing
adjustments.
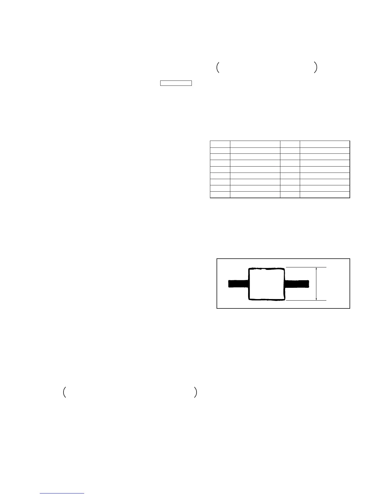
CN910 of VC-215 board
Pin No. Signal Name Pin No. Signal Name
1 LANC SIG 9 RF AGC OUT
2 XCPC IN 10 REC RF
3 IR VIDEO 11 RF SWP
4 AFC F
0 12 CAP FG
5 BPF MONI 13 EVF BL
6 PB RF 14 EVF BL 4.75V
7 RF AGC IN 15 VCO
8 REG GND 16 EVF VG
[Processing after operations]
1) Connect the adjusting remote commander, and turn on the HOLD
switch.
2) Select page: 0, address: 01, and set data: 01.
3) Select page: F, address: 2A, and set data: 00.
4) Press the PAUSE button of the adjusting remote commander.
5) Select page: 0, address: 01, and set data: 00.
6) Remove the power supply from the unit.
Must be flat
Fig. 5-2-1.
5-2. MECHANICAL SECTION ADJUSTMENT
Mechanism Parts Adjustments
For details on the adjustments and checks of mechanical section
and replacements of mechanism parts, refer to the separate volume-
“8 mm Video Mechanical Adjustment Manual VII B Mechanism ”.
2-1. OPERATING WITHOUT A CASSETTE
1) Refer to “Section 2 DISASSEMBLY” and supply the power with
the cabinet removed. (So that the mechanical deck can be
operated.)
2) Connect the adjusting remote commander to the LANC terminal.
3) Turn on the HOLD switch of the adjusting remote commander.
4) Close the cassette compartment without loading a cassette and
complete loading.
5) Select page: 0, address: 01, and set data: 01.
6) Select page: F, address: 2A, and set data: 01, and press the PAUSE
button of the adjusting remote commander.
7) Select page: D, address: 10, and set data: 10, and press the PAUSE
button of the adjusting remote commander.
8) Disconnect the power supply of the unit.
By carrying out the above procedure, the unit can be operated
without loading a cassette.
Be sure to carry out “Processing after Operations” after checking
the operations.
Set the data of page: D, address: 10 to the following if the sensor
ineffective mode, forced PLAYER (VTR) power supply ON
mode or forced camera power supply ON mode are to be used
together.
Forced VTR power supply ON mode ............ 12
Forced camera power supply ON mode ........ 11
[Processing after Operations]
1) Select page: 0, address: 01, and set data: 01.
2) Select page: F, address: 2A, and set data: 00, and press the PAUSE
button of the adjusting remote commander.
3) Select page: D, address: 10, and set data: 00, and press the PAUSE
button of the adjusting remote commander.
4) Select page: 0, address: 01, and set data: 00.
5) Disconnect the power supply of the unit.
2-2. TAPE PATH ADJUSTMENT
1. Preparations for adjustments
1) Clean the tape path face (tape guide, drum, capstan shaft, pinch
roller).
2) Connect the adjusting remote commander to the LANC terminal.
3) Turn on the HOLD switch of the adjusting remote commander.
4) Select page: 0, address: 01, and set data: 01.
5) Select page: F, address: 2A, and set data: 04 and press the PAUSE
button of the adjusting remote commander.
Be sure to perform “Processing after operations” after com-
pleting adjustments.

Table of Contents

Related product manuals