EasyManua.ls Logo

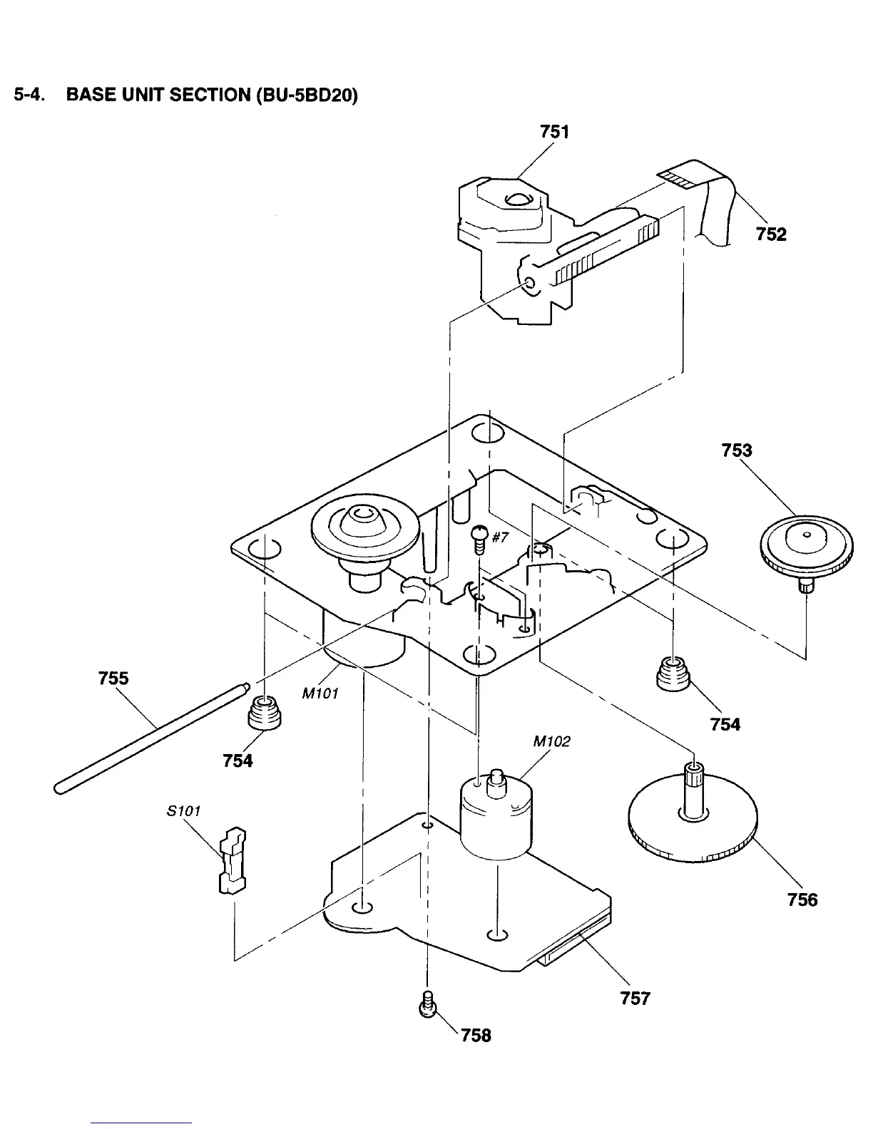
Sony CDP-C160Z - 5-4. Base Unit Section (BU-5 BD20)

Sony CDP-C160Z
20 pages
Print Icon
To Previous Page IconTo Previous Page
To Previous Page IconTo Previous Page
Loading...