EasyManua.ls Logo

Sony CDX-GT595UI - Búsqueda de una Pista; Búsqueda de una Pista por Nombre - Quick-Browzer

Sony CDX-GT595UI
52 pages
Print Icon
To Next Page IconTo Next Page
To Next Page IconTo Next Page
To Previous Page IconTo Previous Page
To Previous Page IconTo Previous Page
Loading...
11
Búsqueda de una pista
Búsqueda de una pista por nombre
— Quick-BrowZer
Puede buscar una pista fácilmente en un CD o
dispositivo USB por categoría.
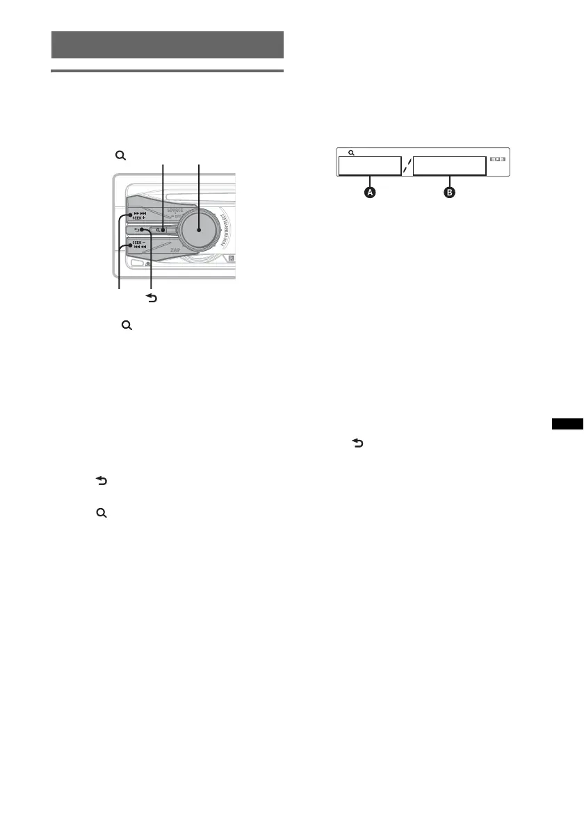
1 Presione (BROWSE).
La unidad accede al modo Quick-BrowZer y
aparece la lista de categorías de búsqueda.
2 Gire el selector de control para
seleccionar la categoría de búsqueda
deseada y, a continuación, presiónelo
para confirmarla.
3 Repita el paso 2 hasta que se
selecciona la pista deseada.
Se inicia la reproducción.
Para volver a la pantalla anterior
Presione (BACK).
Para salir del modo Quick-BrowZer
Presione (BROWSE).
Nota
Al acceder al modo Quick-BrowZer, se cancela el
ajuste de reproducción repetida/aleatoria.
Búsqueda por omisión de elementos
— modo de Omisión
Cuando varios elementos se encuentran dentro de
una misma categoría, es posible encontrar el
elemento deseado rápidamente.
1 Presione (SEEK) + en el modo Quick-
BrowZer.
Aparecerá la siguiente pantalla.
A Número del elemento actual
B Número total de elementos en la capa actual
A continuación, aparecerá el nombre del
elemento.
2 Gire el selector de control para seleccionar el
elemento deseado o un elemento cercano.
Salta en incrementos del 10% del número total
de elementos.
3 Presione el botón de selección.
Vuelve a la pantalla del modo Quick-BrowZer
y aparece el elemento seleccionado.
4 Gire el selector de control para seleccionar el
elemento deseado y presiónelo.
Si el elemento seleccionado es una pista,
empieza la reproducción.
Para cancelar el modo de Omisión
Presione (BACK) o (SEEK) –.
(BROWSE)
Selector de control/
botón de selección
(BACK)
SEEK +/–

Table of Contents

Related product manuals