EasyManua.ls Logo

Sony CMT-SE7 - Repeat Play; Programming MD Tracks; Program Play

Sony CMT-SE7
104 pages
Print Icon
To Next Page IconTo Next Page
To Next Page IconTo Next Page
To Previous Page IconTo Previous Page
To Previous Page IconTo Previous Page
Loading...
MD – Play
masterpage:Right
filename[\\Nas-data-server\SONY Current jobs\SONY CMT-SE7\CMT-
SE7_GBCT\DTP\4248325112\424832511CMTSE7HK\GB08MDP-CEK.fm]
35
GB
model name [CMT-SE7]
[4-248-325-11(2)]
* If you press MD N while an MD is inserted, this
unit switches to the MD function and playback starts
even when you are listening to another source. While
the Net MD function is on, you cannot switch the
function.
To play a track by entering the
track number
You can also select the track you want using the
remote during Normal Play.
Press the number button (s).
To enter a track number over 10
1 Press >10.
2 Enter the corresponding digits for the same
number of “–” flashing in the display.
To enter 0, press 10/0.
Example:
To enter track number 30, press >10, then press 3 and
10/0.
Playing repeatedly
Repeat play
Press REPEAT repeatedly until “REP” or
“REP1” appears.
REP: For all the tracks on the MD up to five
times.
REP1: For a single track only.
To cancel Repeat Play
Press REPEAT repeatedly until both “REP” and
“REP1” disappear.
Tip
If you press REPEAT repeatedly while the lid is
closed, “Repeat” (with “REP”) or “Track Repeat”
(with “REP 1”) scrolls in the display.
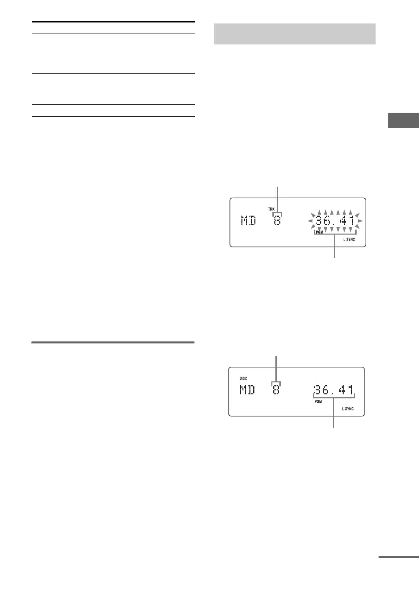
You can make a program of up to 25 steps.
Open the lid before performing the following
operations.
1 Press FUNCTION repeatedly to switch
the function to MD.
2 Press PLAY MODE in stop mode
repeatedly until “PGM” appears.
3 Press . or > repeatedly until the
desired track number appears.
4 Press ENTER/YES.
The track is programmed.
The step number appears, followed by the
track number in the programmed sequence
and the total playing time of the program.
5 To program additional tracks, repeat
steps 3 and 4.
6 Press MD N.
Program Play starts.
Find a point in a
track
Keep pressing m or M (or
keep moving MD stick on the unit
to . or >) during playback
and release it at the desired point.
Switch to MD
function from
another source*
Press MD N (Automatic Source
selection).
Remove the MD Press Z on the front of the unit.
To Do this
Programming MD tracks
—Program Play
Total playing time
Selected track number
Last programmed
track number
Total playing
time
continued

Table of Contents