EasyManua.ls Logo

Sony HBD-E370 - 2 Disassembly; Disassembly Flow; Case (EZ)

Sony HBD-E370
114 pages
Print Icon
To Next Page IconTo Next Page
To Next Page IconTo Next Page
To Previous Page IconTo Previous Page
To Previous Page IconTo Previous Page
Loading...
HBD-E370/E470/E570/E870/T57
11
SECTION 2
DISASSEMBLY
This set can be disassembled in the order shown below.
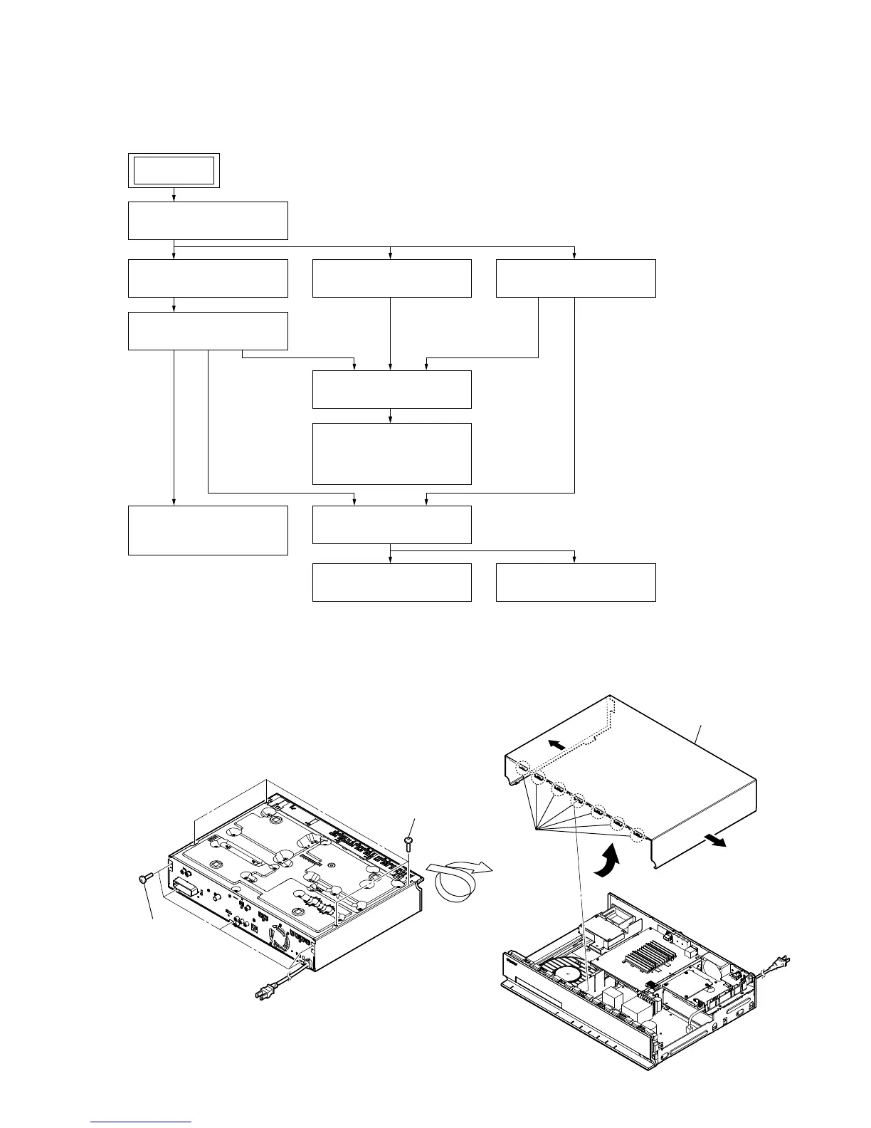
2-1. DISASSEMBLY FLOW
Note: Follow the disassembly procedure in the numerical order given.
2-2. CASE (EZ)
SET
2-3. MB-134 BOARD
(Page 12)
2-4. BRACKET (MB) BLOCK
(Page 13)
2-9. BACK PANEL BLOCK
(Page 15)
2-2. CASE (EZ)
(Page 11)
2-6. FRONT PANEL BLOCK
(Page 14)
2-10. MAIN BOARD
(Page 16)
2-11. AUDIO BOARD
(Page 16)
2-7. CONNECT BOARD
(Page 14)
2-8. BD DRIVE (BPX-5)
(Page 15)
2-12. OPTICAL DEVICE
(KEM-460AAA),
WIRE (FLAT TYPE)
(Page 17)
2-5. FUSE (F901),
POWER BOARD
(Page 13)
1 four screws
(BV3)
3
3
4
2 five screws
(BV/RING)
Bottom view
6 case (EZ)
5 seven hooks

Table of Contents

Related product manuals