EasyManua.ls Logo

Sony HCD-CX4iP - Disassembly; Disassembly Flow; Panel (Back) Block

Sony HCD-CX4iP
56 pages
Print Icon
To Next Page IconTo Next Page
To Next Page IconTo Next Page
To Previous Page IconTo Previous Page
To Previous Page IconTo Previous Page
Loading...
HCD-CX4iP/CX5iP
7
SECTION 2
DISASSEMBLY
This set can be disassembled in the order shown below.
2-1. DISASSEMBLY FLOW
Note:
Follow the disassembly procedure in the numerical order given.
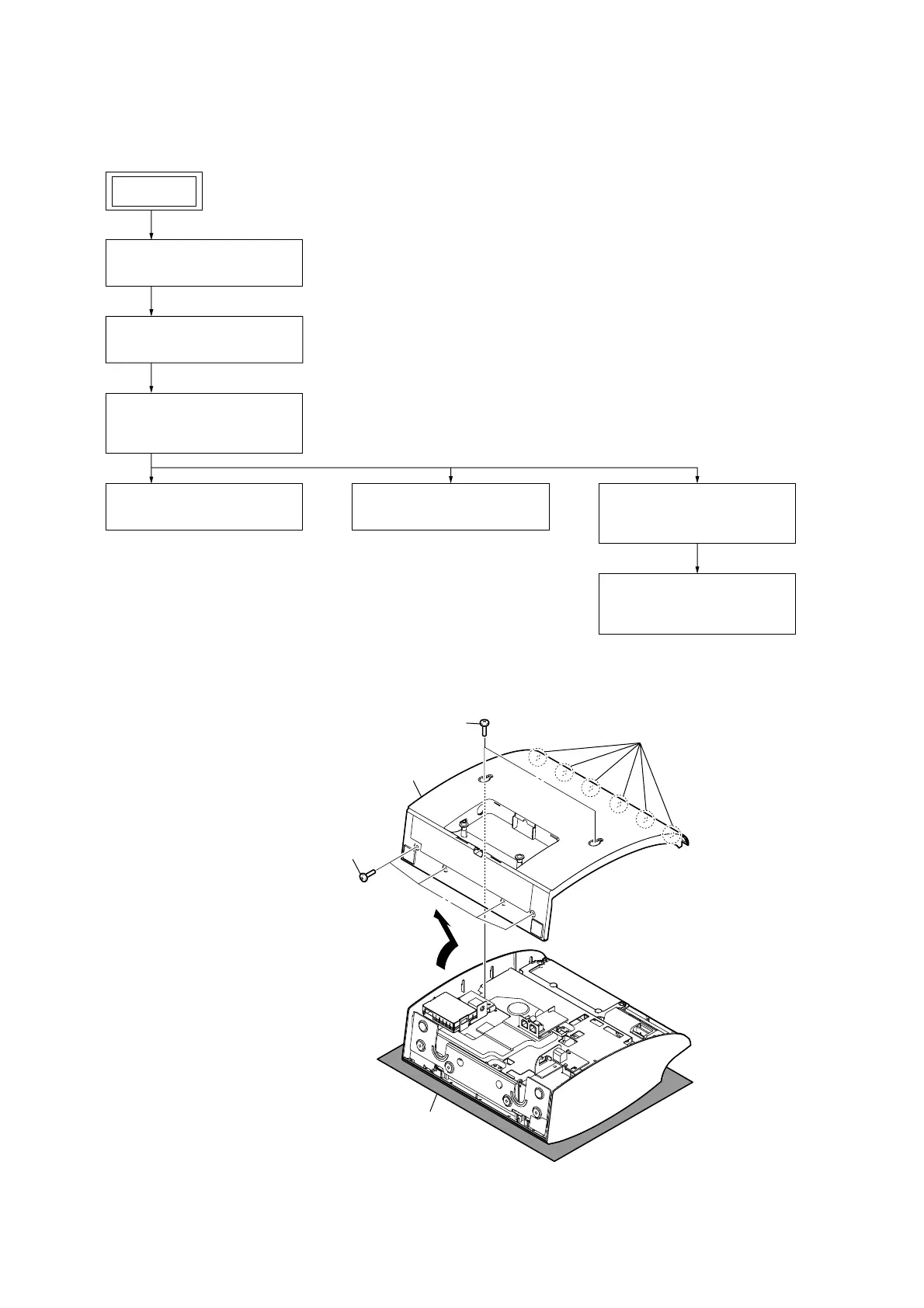
2-2. PANEL (BACK) BLOCK
SET
2-3. PANEL (FRONT) BLOCK
(Page 8)
2-4. CD MECHANISM DECK
(CDM80BTK-F4BD94D-V)
(Page 9)
2-7. BASE UNIT
(BU-F4BD94D-V)
(Page 11)
2-8. OPTICAL PICK-UP
(KSM-215CFP)
(Page 12)
2-5. MAIN BOARD
(Page 10)
2-6. BELT (MOT)
(Page 11)
2-2. PANEL (BACK) BLOCK
(Page 7)
1 four screws
(BVTP3 u 8)
5 panel (back) block
2 two screws
(BVTT3 u 6)
4 six claws
– Rear bottom view –
Note: Please spread a sheet
under a unit not to injure
panel (front).
3

Related product manuals