EasyManua.ls Logo

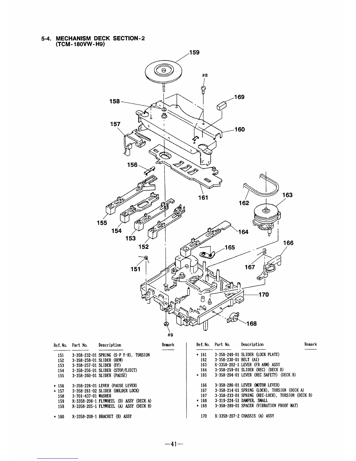
Sony HCD-D109 - Exploded Views - Mechanism Deck Section 2; Mechanism Deck Section 2 Exploded View; Mechanism Deck Section 2 Parts List

Sony HCD-D109
40 pages
Print Icon
To Next Page IconTo Next Page
To Next Page IconTo Next Page
To Previous Page IconTo Previous Page
To Previous Page IconTo Previous Page
Loading...

Related product manuals