EasyManua.ls Logo

Sony HT-CT770 - 2-15. POWER BOARD

Sony HT-CT770
74 pages
Print Icon
To Next Page IconTo Next Page
To Next Page IconTo Next Page
To Previous Page IconTo Previous Page
To Previous Page IconTo Previous Page
Loading...
HT-CT770
16
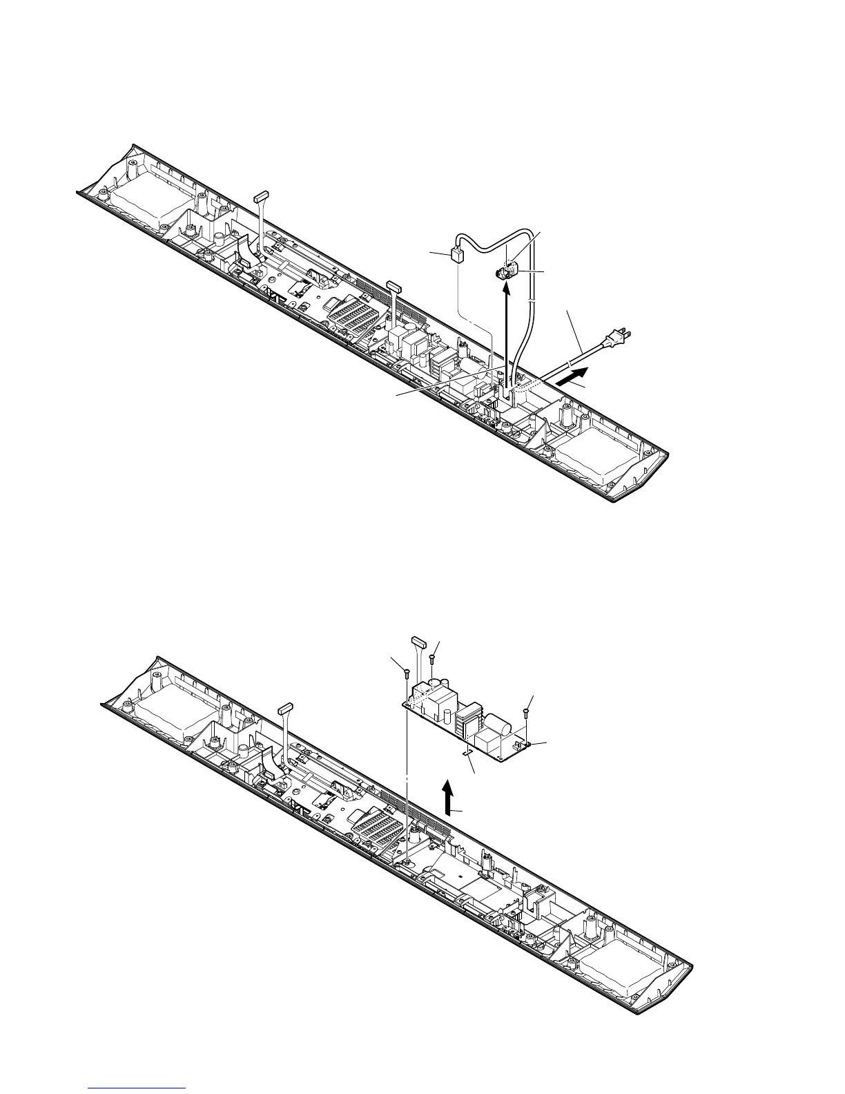
2-14. POWER CORD (AC1)
2-15. POWER BOARD
1 connector
(CN901)
5 Draw out the power cord
from the hole.
6 power cord
(AC1)
2 Remove the cord bushing (FBS001)
in the direction of the arrow.
4 cord bushing (FBS001)
3 claw
1 screw
(BVTT3 u 6)
1 screw
(BVTT3 u 6)
1 two screws
(BVTT3 u 6)
2 Remove the POWER board block
in the direction of the arrow.
4 POWER board
3 cushion (H)

Other manuals for Sony HT-CT770

Related product manuals