EasyManua.ls Logo

Sony HT-CT770 - 2-17. HDMI BOARD

Sony HT-CT770
74 pages
Print Icon
To Next Page IconTo Next Page
To Next Page IconTo Next Page
To Previous Page IconTo Previous Page
To Previous Page IconTo Previous Page
Loading...
HT-CT770
18
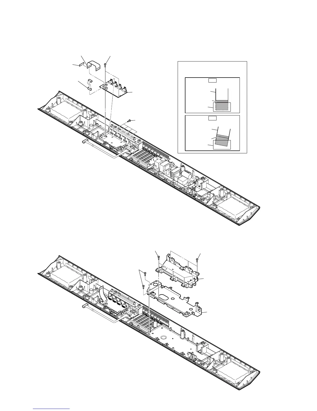
2-17. HDMI BOARD
2-18. BRACKET (POWER) BLOCK
2 flexible flat cable (19 core)
(FFC1)
(CN3009)
3 connector
(CN3005)
1 cushion (G)
4 two screws
(BVTT3 u 6)
5 four screws
(B3 u 5)
6 HDMI board
colored line
colored line
Insert is straight to the interior.
Insert is incline
flexible flat
cable
flexible flat
cable
connector
connector
Note:
When installing the flexible flat
cable, ensure the colored line.
No slanting after insertion.
OK
NG
1 three screws
(BVTP3 u 10)
3 two screws
(BVTP3 u 10)
2 insulation (power) block
4 bracket (power) block
1 four screws
(BVTP3 u 10)

Other manuals for Sony HT-CT770

Related product manuals