EasyManua.ls Logo

Sony ICD-B10 - Adding an Overwrite Recording During Playback

Sony ICD-B10
48 pages
Print Icon
To Next Page IconTo Next Page
To Next Page IconTo Next Page
To Previous Page IconTo Previous Page
To Previous Page IconTo Previous Page
Loading...
22
GB
Adding a Recording (continued)
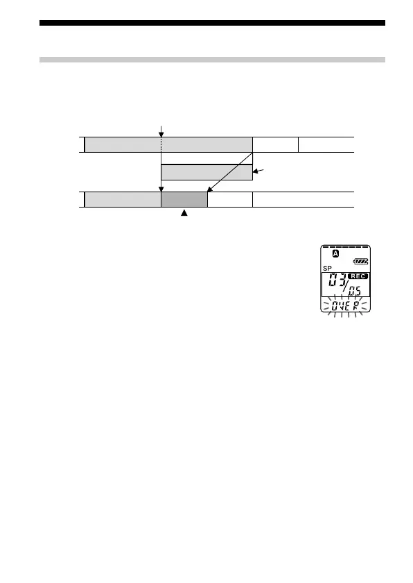
Adding an Overwrite Recording during Playback
You can add an overwrite recording after the selected point in a recorded
message. The part of the message after the selected point is deleted.
1 During playback, press zREC/STOP briefly.
OVER flashes on the display window and the OPR
indicator flashes in red.
2 Press zREC/STOP to start recording.
REC is displayed and the OPR indicator turns red.
3 Press xSTOP to stop the recording.
Notes
The added message will be recorded in the same recording mode (SP or LP;
see page 36) as the original message, regardless of the current recording mode
setting.
You cannot overwrite if the remaining memory of the IC recorder is not
enough. For details, see Troubleshooting on page 38.
The deleted part of
Message 2
Added overwrite recording in Message 2
Message 3
Message 2
Message 3
Message 4
Message 4
The starting point of an overwrite recording
Message 2

Related product manuals