EasyManua.ls Logo

Sony ICF-7800 - SECTION 1 CIRCUIT DESCRIPTION; Electronic Timer Functionality

Sony ICF-7800
22 pages
Print Icon
To Next Page IconTo Next Page
To Next Page IconTo Next Page
To Previous Page IconTo Previous Page
To Previous Page IconTo Previous Page
Loading...
1-2.
CIRCUIT
DESCRIPTION
(1)
Electronic
Timer
This
radio
receiver
uses
an
electronic
timer
which
one
IC
contains
the
blocking
oscillator,
the
counter,
the
digital-analog
(DA)
converter,
the
comparator,
the
switching
circuit,
the
remaining-duration-time
detector,
the
voltage
regulator
and
the
current
detector.
This
blocking
oscillator
produces
a
reference
signal
for
the
timer.
The
timer
selector
S2-1
(96
minutes/8
hours)
selects
time
constant
of
the
oscillator
to
change
the
oscillation
frequency.
The
oscillation
can
be
checked
by
observing
the
sawtooth
wave
on
the
oscilloscope
connected
to
terminal
2
of
IC8.
The
cycle
period
of
sawtooth
wave
should
be
0.35156
seconds
for
96-minute
timer
and
1.7578
seconds
for
8-hour
timer.
The
acurate
frequency,
however,
can
not
be
read
on
the
oscilloscope,
since
the
oscilloscope
connection
changes
time
constant
of
the
oscillator.
The
sawtooth
wave
produced
by
the
oscillator
is
demultiplied
into
a
pulse
wave
at
the
counter
and
then
converted
into
the
analog
signal
by
the
DA
converter.
The
circuit
of
this
converter
is
as
shown
in
POWER
SUPPLY
POWER
SWITCH
B+
|
ICF-78(
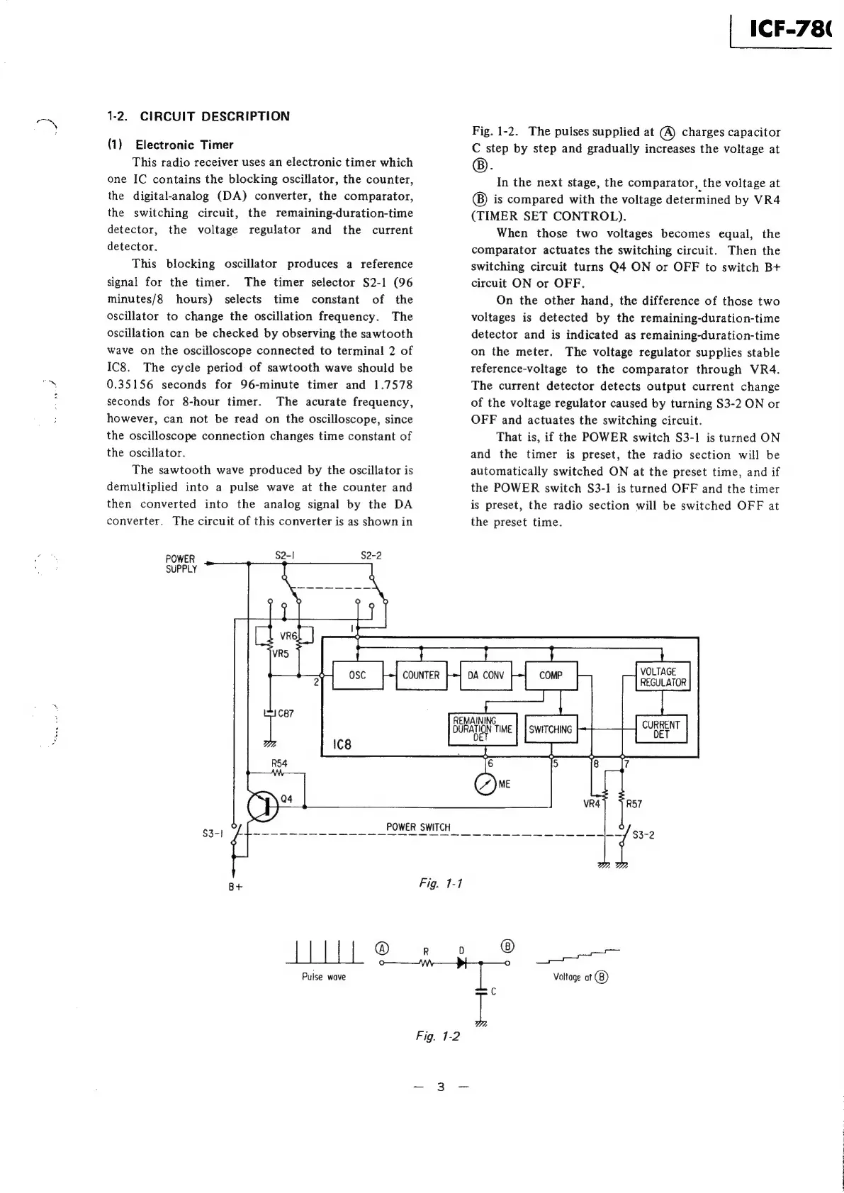
Fig.
1-2.
The
pulses
supplied
at
@
charges
capacitor
C
step
by
step
and
gradually
increases
the
voltage
at
®.
In
the
next
stage,
the
comparator,
the
voltage
at
is
compared
with
the
voltage
determined
by
VR4
(TIMER
SET
CONTROL).
When
those
two
voltages
becomes
equal,
the
comparator
actuates
the
switching
circuit.
Then
the
switching
circuit
turns
Q4
ON
or
OFF
to
switch
B+
circuit
ON
or
OFF.
On
the
other
hand,
the
difference
of
those
two
voltages
is
detected
by
the
remaining-duration-time
detector
and
is
indicated
as
remaining-duration-time
on
the
meter.
The
voltage
regulator
supplies
stable
reference-voltage
to
the
comparator
through
VR4.
The
current
detector
detects
output
current
change
of
the
voltage
regulator
caused
by
turning
$3-2
ON
or
OFF
and
actuates
the
switching
circuit.
That
is,
if
the
POWER
switch
S3-1
is
turned
ON
and
the
timer
is
preset,
the
radio
section
will
be
automatically
switched
ON
at
the
preset
time,
and
if
the
POWER
switch
S3-1
is
turned
OFF
and
the
timer
is
preset,
the
radio
section
will
be
switched
OFF
at
the
preset
time.
Pulse
wave
|
Voltage
at
c

Related product manuals