EasyManua.ls Logo

Sony ICF-990L - IC Block Diagram; Semiconductor Lead Layouts

Sony ICF-990L
18 pages
Print Icon
To Next Page IconTo Next Page
To Next Page IconTo Next Page
To Previous Page IconTo Previous Page
To Previous Page IconTo Previous Page
Loading...
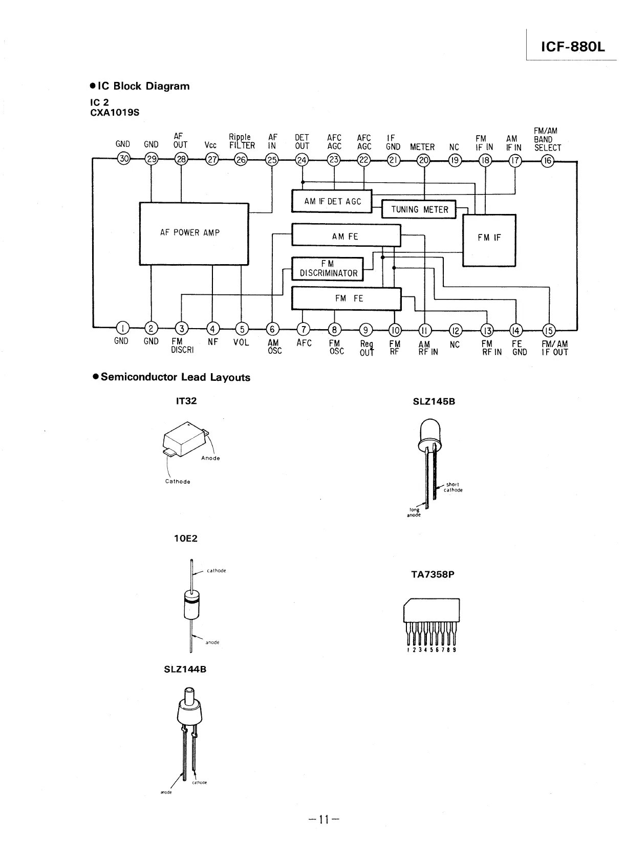
ICF-880L
@1C
Block
Diagram
IC
2
CXA1019S
Fi
C
OIF
FM
AM
BAND
C
GND
METER
NC
IF
IN
IFIN
SELECT
M
IF
DET
AGC
a
_
TUNING
METER
F
FE
FM/
AM
RF
IN
GND
IF
OUT
@
Semiconductor
Lead
Layouts
IT32
SLZ145B
:
|
A
Cathode
short
cathode
long
anode
10E2
:
cathove
TA7358P
anode
ont
123456788
SLZ144B
/
cathoce
anode

Related product manuals