EasyManua.ls Logo

Sony ICF-C111 - Electrical Adjustments; FM Section Adjustments; AM Section Adjustments

Sony ICF-C111
20 pages
Print Icon
To Next Page IconTo Next Page
To Next Page IconTo Next Page
To Previous Page IconTo Previous Page
To Previous Page IconTo Previous Page
Loading...
8
ICF-C111
FM FREQUENCY COVERAGE ADJUSTMENT
Adjust for a maximum reading on level meter.
L4 CT4
86.5 MHz 109.5 MHz
FM TRACKING ADJUSTMENT
Adjust for a maximum reading on level meter.
L3 CT3
86.5 MHz 109.5 MHz
AM IF ADJUSTMENT
Adjust for a maximum reading on level meter.
T1
455 kHz
AM FREQUENCY COVERAGE ADJUSTMENT
Adjust for a maximum reading on level meter.
L2 CT2
520 kHz 1,750 kHz
AM TRACKING ADJUSTMENT
Adjust for a maximum reading on level meter.
L1 CT1
600 kHz 1,400 kHz
FM SECTION 0 dB = 1 µV
Setting:
BAND switch: FM
VOLUME switch: MIN
AM SECTION
Setting:
BAND switch: AM
VOLUME switch: MIN
SECTION 4
ELECTRICAL ADJUSTMENTS
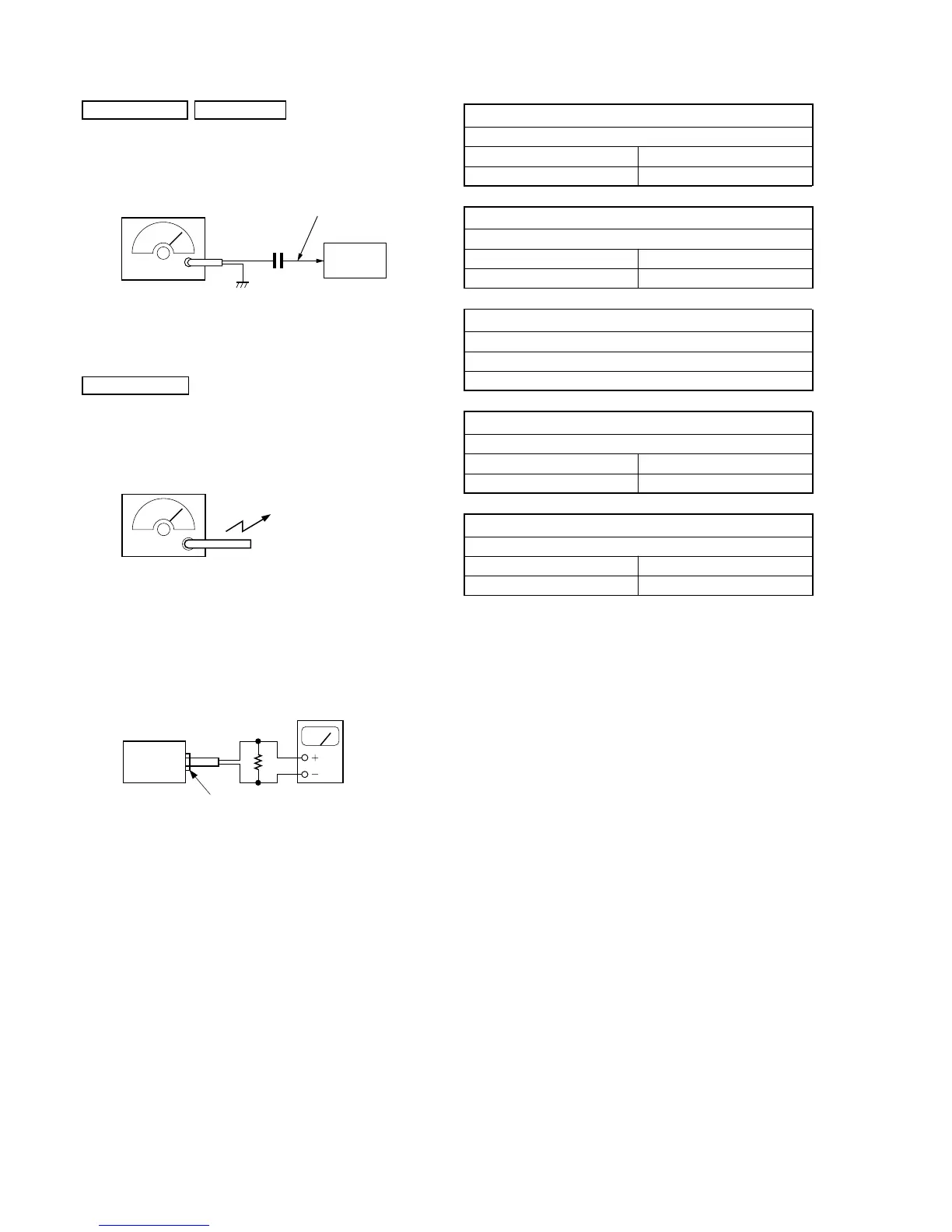
FM lead wire
antenna terminal
0.01
µ
F
FM RF signal
generator
400Hz, 30% FM modulation
frequency deviation
±
22.5kHz
Output level: as low as possible
set
Put the lead-wire
antenna close to
the set.
AM RF signal
generator
400Hz, 30%
AM modulation
Output level: as low as possible
Connecting Level Meter (FM and AM)
Repeat the procedures in each adjustment several times, and the
frequency coverage and tracking adjustments should be finally done
by the trimmer capacitors.
speaker terminal
set
16
level meter
(range: 0.5–5 V ac
)
Adjustment Location: See page 9.

Related product manuals