EasyManua.ls Logo

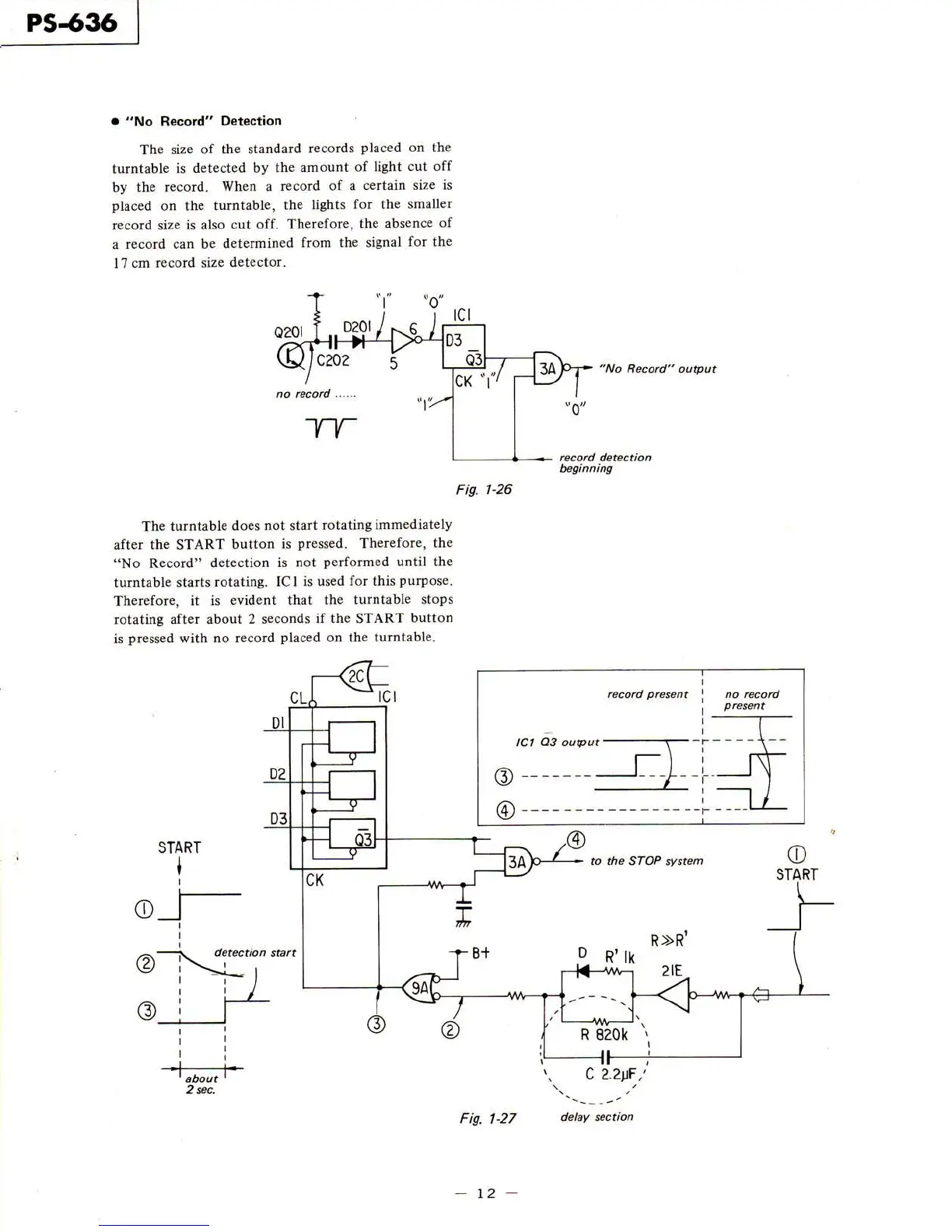
Sony PS-636 - No Record Detection

Sony PS-636
57 pages
Print Icon
To Next Page IconTo Next Page
To Next Page IconTo Next Page
To Previous Page IconTo Previous Page
To Previous Page IconTo Previous Page
Loading...

Related product manuals