EasyManua.ls Logo

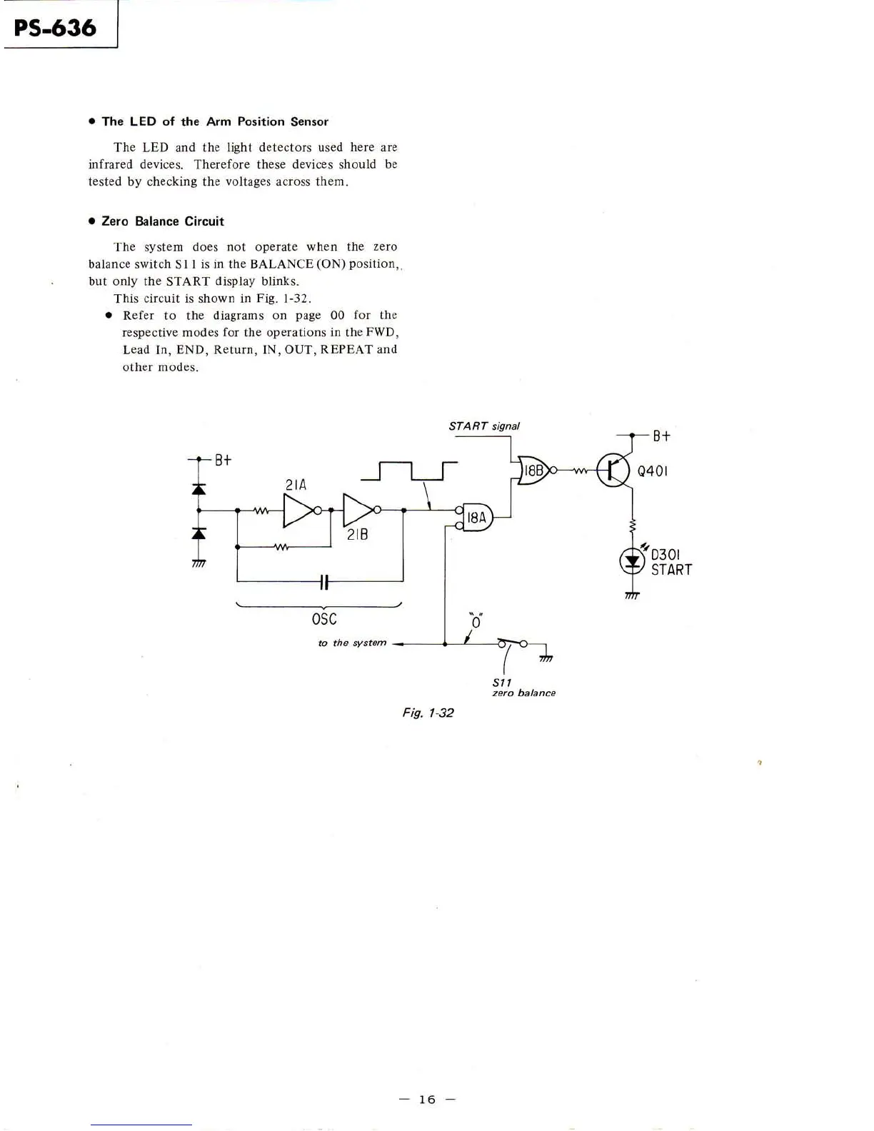
Sony PS-636 - The LED of the Arm Position Sensor; Zero Balance Circuit

Sony PS-636
57 pages
Print Icon
To Next Page IconTo Next Page
To Next Page IconTo Next Page
To Previous Page IconTo Previous Page
To Previous Page IconTo Previous Page
Loading...