EasyManua.ls Logo

Sony RDR-VX515 - Guide to Parts and Controls

Sony RDR-VX515
124 pages
Print Icon
To Next Page IconTo Next Page
To Next Page IconTo Next Page
To Previous Page IconTo Previous Page
To Previous Page IconTo Previous Page
Loading...
112
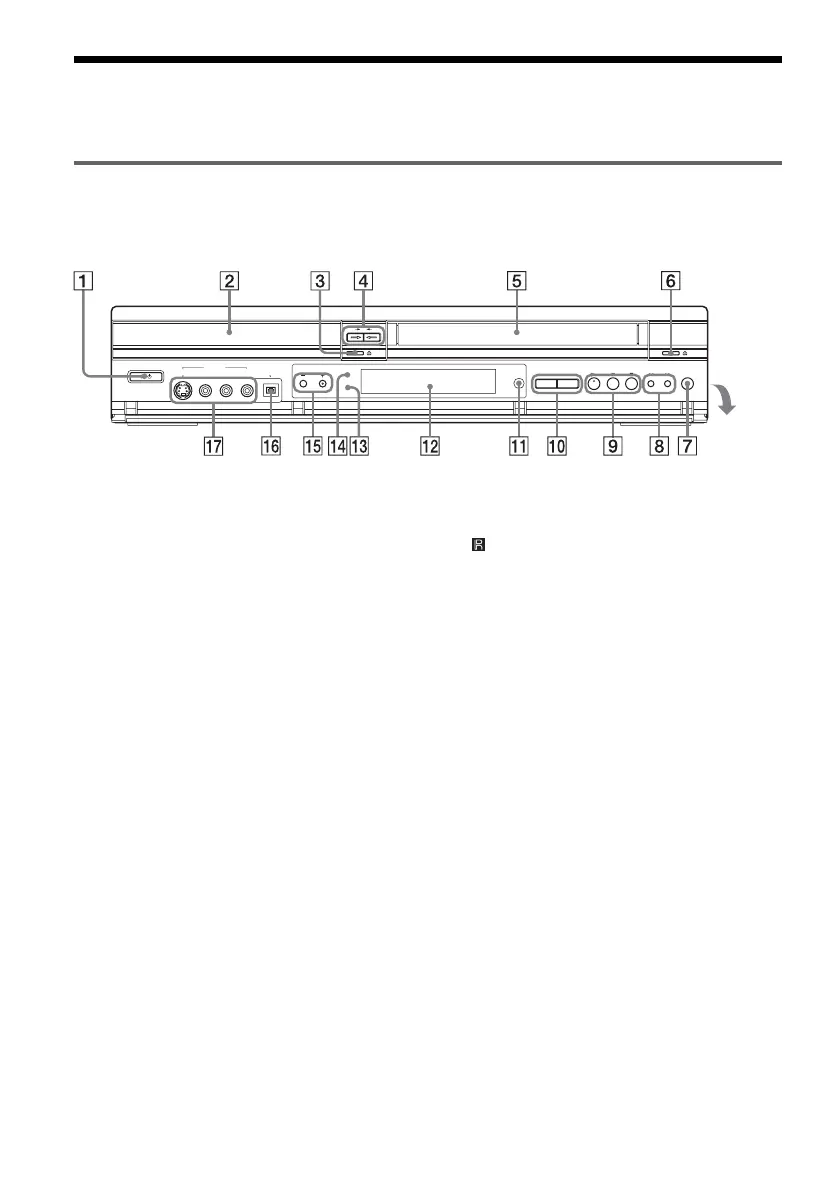
Guide to Parts and Controls
For more information, see the pages in parentheses.
Front panel
Buttons on the recorder have the same function as the buttons on the remote if they have the same or
similar names.
A "/1 (on/standby) button (22)
B Disc tray (32, 46, 89)
C A (open/close) button (32, 46, 89)
D DVD t button (83)
T VIDEO button (82)
E Tape compartment (67, 74)
F A (eject) button (67)
G z REC (record) button (46, 74)
H m/M (rewind/fast-forward) buttons
(35)
I H (play) button* (32, 67)
X (pause) button (33, 46, 69, 74)
x (stop) button (32, 46, 67, 74)
J SELECT DVD/VIDEO buttons (32, 46, 67,
74)
K (remote sensor) (19)
L Front panel display (44, 71)
M SYNCHRO REC indicator (50, 78)
N PROGRESSIVE indicator (16, 96)
O CHANNEL/TRACKING +/– buttons* (20,
46, 68, 74)
P DV IN jack (88)
Q LINE 2 IN (S VIDEO/VIDEO/AUDIO L/
R) jacks (26)
* H and CHANNEL + buttons have a tactile dot. Use
the tactile dot as a reference.
Open the
cover

Table of Contents

Other manuals for Sony RDR-VX515

Related product manuals