EasyManua.ls Logo

Sony S200F - Guía para las Partes y Los Controles

Sony S200F
134 pages
Print Icon
To Next Page IconTo Next Page
To Next Page IconTo Next Page
To Previous Page IconTo Previous Page
To Previous Page IconTo Previous Page
Loading...
32
ES
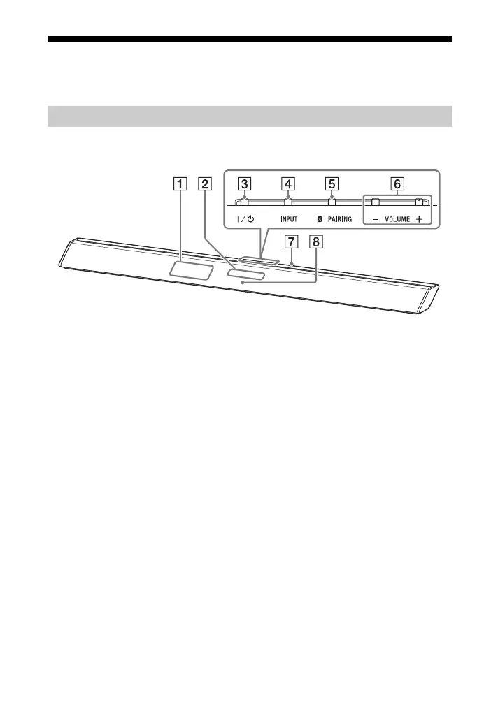
Guía para las partes y los controles
Para obtener más información, consulte las páginas indicadas en paréntesis.
Paneles frontales y superiores
Sensor de mando a distancia
Visor del panel frontal
Botón / (encendido/en
espera)
Botón INPUT (página 8, 21)
Botón PAIRING (página 8)
Botones VOLUME +/-
Marca N (página 9)
Cuando usa la función NFC, toque
su dispositivo compatible con NFC
con la marca.
Indicador BLUETOOTH (azul)
Estado BLUETOOTH
Durante la sincronización
BLUETOOTH: Parpadea
rápidamente
Se está intentando la conexión
BLUETOOTH: Parpadea
Se ha establecido la conexión
BLUETOOTH: Encendido
Modo en espera de BLUETOOTH
(cuando el sistema está apagado):
Apagado
Barra parlante

Table of Contents

Related product manuals