EasyManua.ls Logo

Sony S200F - Guide to Parts and Controls

Sony S200F
134 pages
Print Icon
To Next Page IconTo Next Page
To Next Page IconTo Next Page
To Previous Page IconTo Previous Page
To Previous Page IconTo Previous Page
Loading...
31
GB
Additional Information
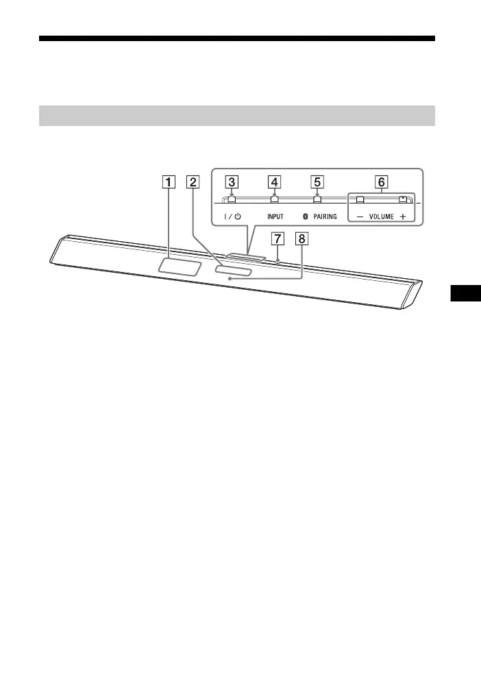
Guide to parts and controls
For more information, refer to the pages indicated in parentheses.
Front and top panels
Remote control sensor
Front panel display
/ (on/standby) button
INPUT button (page 8, 21)
PAIRING button (page 8)
VOLUME +/– buttons
N-Mark (page 9)
When using the NFC function, touch
your NFC-compatible device to the
mark.
BLUETOOTH indicator (blue)
BLUETOOTH status
During BLUETOOTH pairing:
Flashes quickly
BLUETOOTH connection is being
attempted: Flashes
BLUETOOTH connection has been
established: Lit
BLUETOOTH standby mode (when
the system is off): Unlit
Bar Speaker

Table of Contents

Related product manuals