EasyManua.ls Logo

Sony S200F - Guide des Pièces et des Commandes

Sony S200F
134 pages
Print Icon
To Next Page IconTo Next Page
To Next Page IconTo Next Page
To Previous Page IconTo Previous Page
To Previous Page IconTo Previous Page
Loading...
32
FR
Guide des pièces et des commandes
Pour plus d’informations, consultez les pages indiquées entre parenthèses.
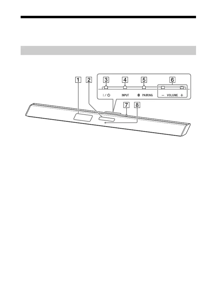
Panneaux avant et du haut
Capteur de télécommande
Écran du panneau avant
Bouton / (marche/arrêt)
Bouton INPUT (page 8, 21)
Bouton PAIRING (page 8)
Boutons VOLUME +/–
Marque N (page 9)
Lorsque vous utilisez la fonction
NFC, touchez votre appareil NFC sur
la marque.
Témoin BLUETOOTH (bleu)
État BLUETOOTH
Pendant l’appairage BLUETOOTH :
Clignote rapidement
La connexion BLUETOOTH est
tentée : Clignote
La connexion BLUETOOTH a été
établie : Allu
Mode veille BLUETOOTH (quand le
système est hors tension) : Éteint
Barre de haut-parleurs

Table of Contents

Related product manuals