EasyManua.ls Logo

Sony Trinitron CPD-E530 - Mensajes en Pantalla

Sony Trinitron CPD-E530
52 pages
Print Icon
To Next Page IconTo Next Page
To Next Page IconTo Next Page
To Previous Page IconTo Previous Page
To Previous Page IconTo Previous Page
Loading...
6
Solución de problemas
x No aparece la imagen
Si el indicador ! (alimentación) no se ilumina
Compruebe que el cable de alimentación está correctamente conectado.
Compruebe que el interruptor ! (alimentación) se encuentra en la
posición de encendido.
El indicador ! (alimentación) aparece en naranja
Compruebe que el cable de señal de vídeo está correctamente conectado
y que todos los enchufes están perfectamente insertados en sus clavijas.
Compruebe que el ajuste del interruptor INPUT es correcto.
Compruebe que los terminales del conector de entrada de vídeo HD15 no
están doblados ni aplastados.
Compruebe que la alimentación del ordenador está activada.
El ordenador está en el modo de ahorro de energía. Pulse cualquier tecla
del teclado del ordenador o mueva el ratón.
Compruebe que la tarjeta gráfica se encuentra completamente insertada
en la ranura bus adecuada.
Si el indicador ! (alimentación) se ilumina en verde o parpadea
en naranja
Utilice la función de autodiagnóstico.
x La imagen parpadea, se ondula, oscila o aparece
codificada
Aísle y elimine las fuentes potenciales de campos eléctricos o
magnéticos, como otros monitores, impresoras láser, ventiladores
eléctricos, luces fluorescentes o televisores.
Aleje el monitor de líneas eléctricas o instale una protección magnética
cerca del monitor.
Enchufe el monitor en una toma de CA diferente, preferiblemente de un
circuito diferente.
Gire el monitor 90° a la izquierda o la derecha.
Consulte el manual de la tarjeta gráfica para obtener información sobre
el ajuste adecuado para el monitor.
Compruebe que este monitor admite el modo gráfico y la frecuencia de
la señal de entrada (consulte la Tabla de temporización de modo
predefinido (Preset mode timing table) en la página i). Aunque la
frecuencia se encuentre dentro del margen adecuado, algunas tarjetas
gráficas pueden tener un impulso de sincronización demasiado estrecho
para que el monitor se sincronice correctamente.
Ajuste la frecuencia de barrido (frecuencia vertical) del ordenador para
obtener la mejor imagen posible.
x La imagen es borrosa
Ajuste el contraste, el brillo y PICTURE EFFECT.
Desmagnetice el monitor.*
Ajuste el grado de cancelación de muaré hasta que éste sea mínimo, o
ajuste ELIMINAR MOIRE en NO.
x Aparecen imágenes fantasma
Deje de utilizar cables prolongadores de vídeo y/o dispositivos de
conmutación de vídeo.
Compruebe que todos los enchufes están firmemente insertados en sus
receptáculos.
x La imagen no está centrada o su tamaño no es correcto
Realice la función de centrado y tamaño automáticos.
Ajuste el tamaño o el centrado. Tenga en cuenta que con determinadas
señales de entrada y/o tarjetas gráficas, la periferia de la pantalla no se
utiliza por completo.
Inmediatamente después de activar el interruptor de alimentación, el
tamaño/centrado pueden tardar unos instantes en ajustarse
adecuadamente.
x Los bordes de la imagen aparecen curvos
Ajuste la geometría.
x Aparece un patrón ondulado o elíptico (muaré)
Ajuste el grado de cancelación de muaré hasta que éste sea mínimo.
Cambie el patrón de escritorio.
x El color no es uniforme
Desmagnetice el monitor.* Si coloca equipos que generen campos
magnéticos, como altavoces, cerca del monitor, o si cambia la
orientación de éste, el color puede perder uniformidad.
Ajuste la pureza del color.
x El blanco no parece blanco
Ajuste la temperatura del color.
x Los botones del monitor no funcionan ( aparece en
pantalla)
Si el bloqueo de los controles está ajustado en SI, ajústelo en NO.
x Las letras y líneas muestran sombras rojas o azules en
los bordes
Ajuste la convergencia.
x Se oye un zumbido inmediatamente después de activar la
alimentación
Este es el sonido del ciclo de desmagnetización automática. Cuando se
activa la alimentación, el monitor se desmagnetiza durante unos
segundos.
* Si es necesario aplicar un segundo ciclo de desmagnetización, deje que
transcurra un intervalo mínimo de 20 minutos para obtener resultados
óptimos. Es posible que se oiga un zumbido, pero esto no es fallo de
funcionamiento.
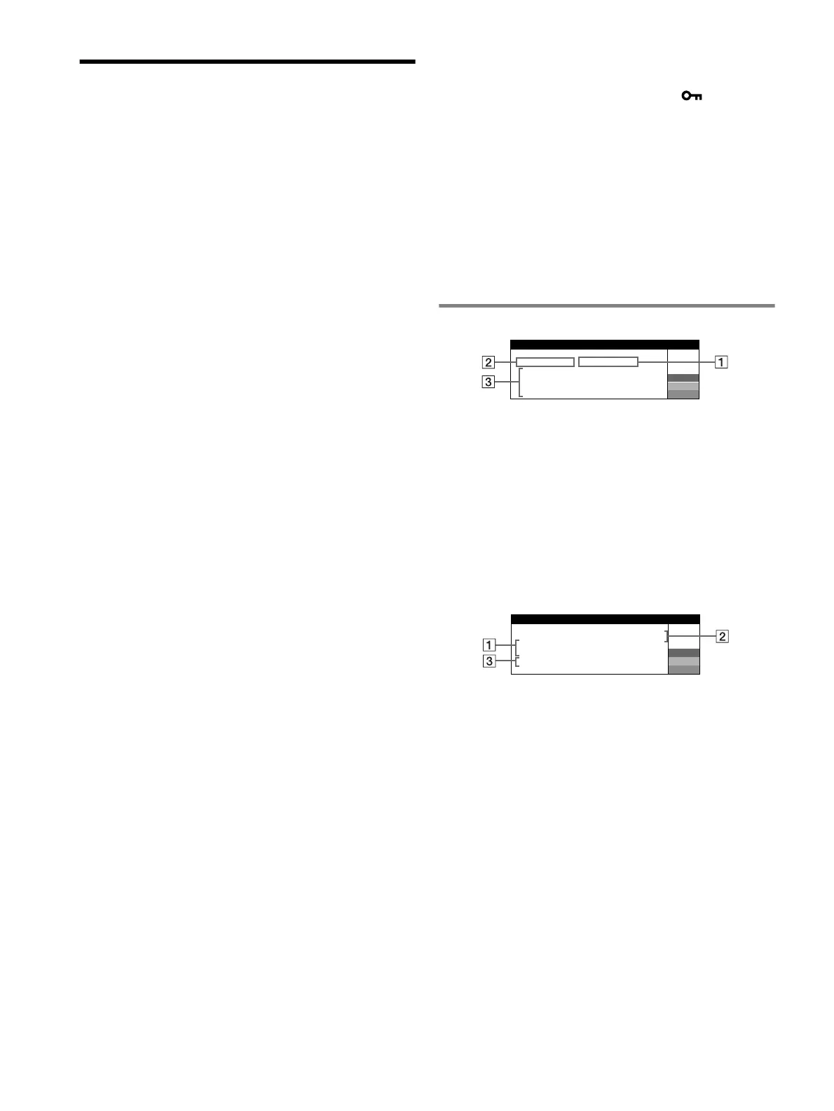
Mensajes en pantalla
1 Si aparece SIN SEÑAL:
Esto indica que no se recibe ninguna señal mediante el conector
seleccionado.
2 Muestra el conector actualmente seleccionado.
3 Muestra las soluciones.
Si ACTIVAR POR ORDENADOR aparece en pantalla, pulse
cualquier tecla del ordenador o mueva el ratón, y verifique que la
tarjeta gráfica de dicho ordenador se encuentra completamente
insertada en la ranura de bus correcta.
Si REVISE CABLE SEÑAL aparece en pantalla, compruebe que el
monitor está correctamente conectado al ordenador.
Si COMPROBAR SELECTOR DE ENTRADA aparece en pantalla,
cambie la señal de entrada.
1 Si aparece FUERA DEL RANGO DE AJUSTE:
Esto indica que la señal de entrada no cumple las especificaciones del
monitor.
2 Muestra la frecuencia de la señal de entrada.
3 Muestra las soluciones.
CAMBIE SINCRO DE SEÑAL aparece en pantalla. Si sustituye un
monitor antiguo por este monitor, vuelva a conectar el antiguo. A
continuación, ajuste la tarjeta gráfica del ordenador de forma que la
frecuencia horizontal se encuentre entre 30 117 kHz, y la vertical
entre 48 170 Hz.
IIONNFORMAC
MON I TOR FUNC I ONA
2 : S I N SE AL
W
R
G
B
ENTRADA
ACT I VAR POR ORDENADOR
REV I SE CABLE SEÑAL
COMPROBAR SELECTOR
DE ENTRADA
Ñ
W
R
G
B
1: .200 0 /kHz 85Hz
CAMB I E S I NCRO DE SEÑAL
FUERA DEL
RANGO DE AJUSTE
IIONNFORMAC
MON I TOR FUNC I ONA
ENTRADA

Other manuals for Sony Trinitron CPD-E530

Related product manuals