EasyManua.ls Logo

Sony Trinitron KV-29FA310 - Section 4: Circuit Adjustments; Setting the Service Adjustment Mode; Memory Write Confi Rmation Method; Remote Adjustment Buttons and Indicators

Sony Trinitron KV-29FA310
120 pages
Print Icon
To Next Page IconTo Next Page
To Next Page IconTo Next Page
To Previous Page IconTo Previous Page
To Previous Page IconTo Previous Page
Loading...
19
KV-27FS120/29FA310/29FS120
KV-27FS120/29FA310/29FS120
4-1. SETTING THE SERVICE ADJUSTMENT
MODE
1. Standby mode (Power off).
2. Press the following buttons on the remote commander within a
second of each other:
Display
Channel
5
Sound Volumne
+
Power
Service Adjustment Mode On
1. The CRT displays the item being adjusted.
DEF NTSC 1 NVM OK
M65582AMF-101FPZ0
Signal
Type
Display
Item #
Category
Item
Data
41
Display
Item
H SIZE
2. Press
1
or
4
on the Remote Commander to select the item.
3. Press
3
or
6
on the Remote Commander to change the data.
4. Press
MUTING
then
ENTER
to write into memory.
Service Adjustment Mode Memory
service defl hsiz 16
ntsc
vchp 00000000 00000000
Category
Display
Item
Mode
Item
Data
Signal
Type
write
1. Press
8
then
ENTER
on the Remote Commander to initialize.
service defl hsiz 16
ntsc
vchp 00000000 00000000
Category
Display
Item
Mode
Item
Data
Signal
Type
write
Carry out Step 1 when adjusting
IDs 0-7 and when replacing and
adjusting IC002
2. Press
MUTING
then
ENTER
to write into memory.
3. Turn set off then on to exit Service Adjustment Mode.
SECTION 4: CIRCUIT ADJUSTMENTS
Electrical AdjustmenTs by Remote Commander
Use the Remote Commander
(RM-Y180, RM-Y195) to perform the circuit adjustments in this section.
Test Equipment Required: 1. Pattern generator 2. Frequency counter 3. Digital multimeter 4. Audio oscillator
4-2. MEMORY WRITE CONFIRMATION
METHOD
1. After adjustment, pull out the plug from the AC outlet, then replace
the plug in the AC outlet again.
2. Turn the power switch ON and set to Service Mode.
3. Call the adjusted items again to confi rm they were adjusted.
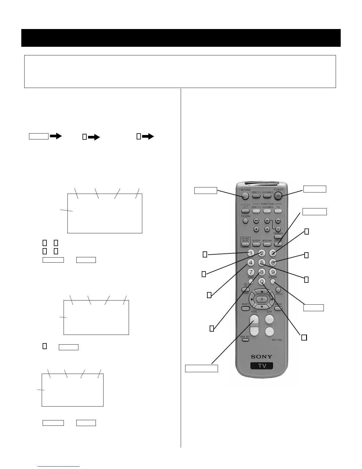
4-3. REMOTE ADJUSTMENT BUTTONS AND
INDICATORS
VOLUME (+)
(Service Mode)
6
Item
(Data down)
ENTER
(Enter into
memory)
0
(Remove from
memory)
3
Item
(Data up)
RM-Y180
5
(Device item
down)
MUTING
(Enter into
memory)
1
Disp. (Item up)
2
(Device Item Up)
4
Disp. (Item down)
8
(Initialize)
DISPLAY
(Service Mode)
POWER
(Service Mode)

Table of Contents

Related product manuals