EasyManua.ls Logo

Sony ZV-1 - Icons on the Playback Screen

Sony ZV-1
555 pages
Print Icon
To Next Page IconTo Next Page
To Next Page IconTo Next Page
To Previous Page IconTo Previous Page
To Previous Page IconTo Previous Page
Loading...
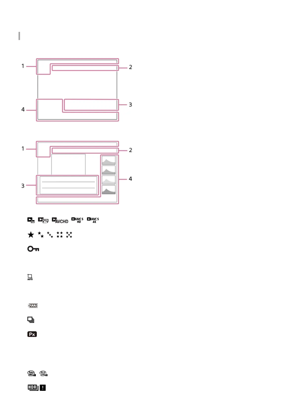
Icons on the playback screen
Single-image playback
Histogram display
00 00 00 00
User Bit
Basic information
View Mode
Rating
Protect
DPOF
DPOF set
Auto object framing image
3/7
File number/Number of images in the view mode
Remaining battery
Display as Group
Proxy movie included
1.
Camera settings
Refer to “Icons on the shooting screen.”
2.
Shooting settings
Picture Effect error
Auto HDR error
3.
33

Table of Contents

Other manuals for Sony ZV-1

Related product manuals