EasyManua.ls Logo

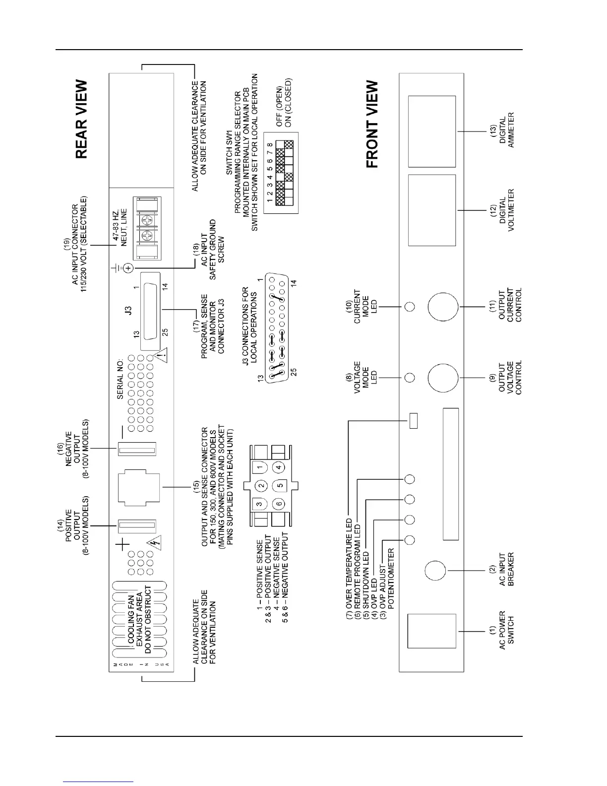
Sorensen DCS20-50E - Figure 2-1 DCS Series Power Supply

Default Icon
65 pages
Print Icon
To Next Page IconTo Next Page
To Next Page IconTo Next Page
To Previous Page IconTo Previous Page
To Previous Page IconTo Previous Page
Loading...
Installation and Operation Sorensen DCS Series 1kW and 1.2kW Supplies
2-4 M362500-01 Rev H
Figure 2-1 DCS Series Power Supply

Table of Contents