EasyManua.ls Logo

Sorensen DCS50-24E - Controls, Connectors, and Indicators; Front Panel Controls and Indicators; Rear Panel Connectors and Indicators

Default Icon
65 pages
Print Icon
To Next Page IconTo Next Page
To Next Page IconTo Next Page
To Previous Page IconTo Previous Page
To Previous Page IconTo Previous Page
Loading...
Installation and Operation Sorensen DCS Series 1kW and 1.2kW Supplies
2-4 M362500-01 Rev H
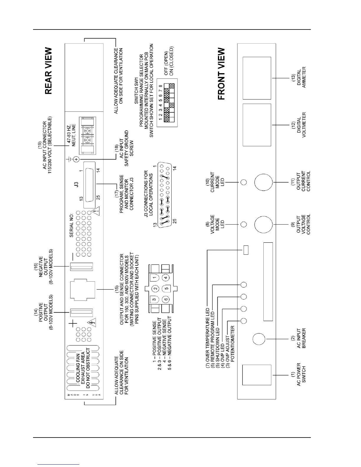
Figure 2-1 DCS Series Power Supply

Table of Contents

Related product manuals