EasyManua.ls Logo

SOUNDMASTER MCD5600 - Installation de la Pile de la Télécommande

SOUNDMASTER MCD5600
Print Icon
To Next Page IconTo Next Page
To Next Page IconTo Next Page
To Previous Page IconTo Previous Page
To Previous Page IconTo Previous Page
Loading...
MCD5600 / Français Manuel d’instructions
3
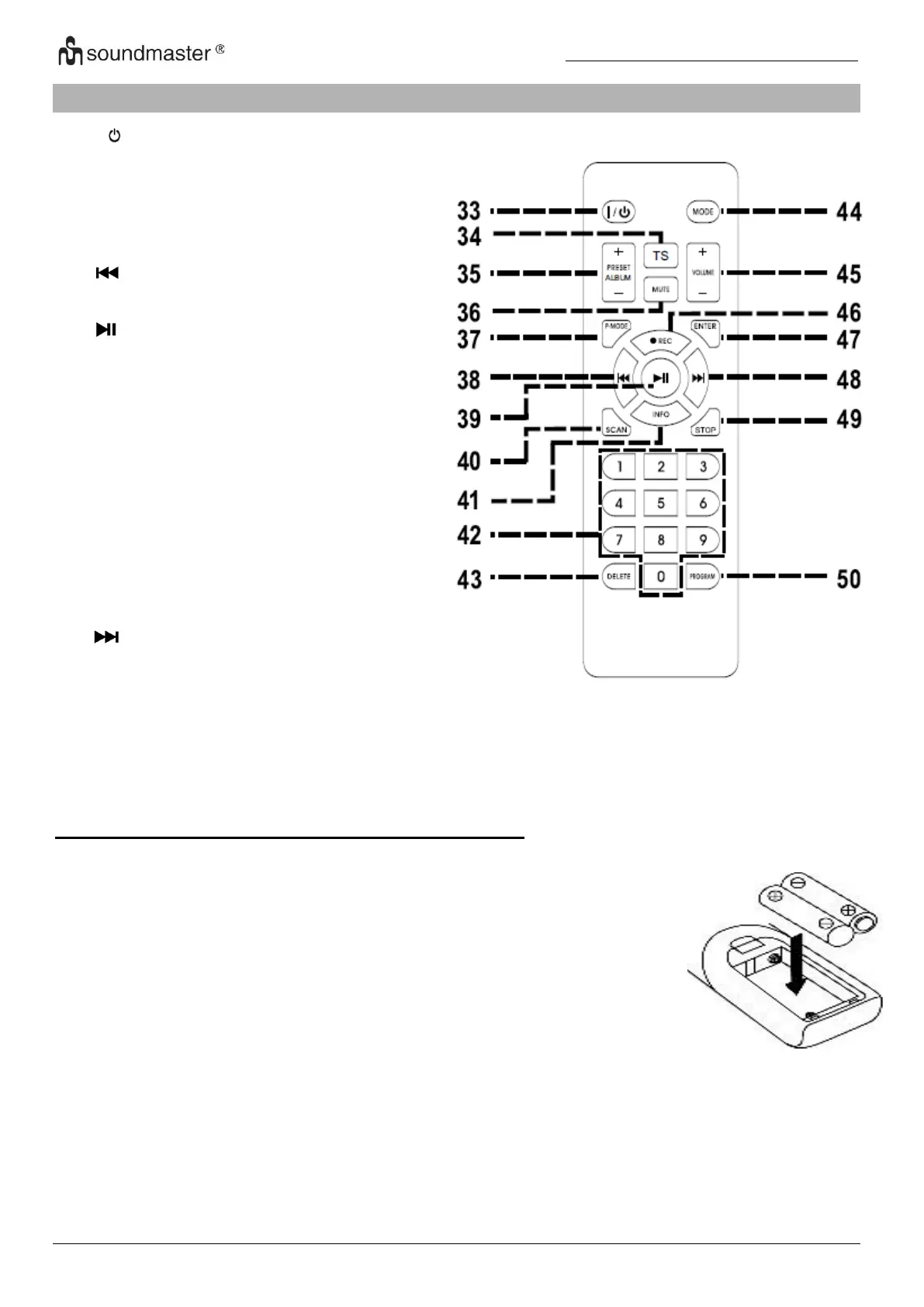
TÉLÉCOMMANDE
33. I/ Mise en marche/veille
34. TS Séparation de piste
35. PRESET / ALBUM +/-
36. MUTE
37. P.MODE tition/Aatoire
38. Recherche de piste ou de station
vers l’arrre
39. Bouton Lecture/Pause
40. SCAN Recherche de stations
41. INFO Informations sur la piste et la
station
42. 0-9 Sélection directe de piste
43. DELETE Suppression de pistes sur le
périphérique USB
44. MODE lection de fonction
45. VOL -/+ Volume -/+
46. REC Enregistrement via USB
47. ENTER Confirmer
48. - Recherche de piste ou de station
vers l’avant
49. STOP Arrêt de la lecture CD/USB
50. PROGRAM Pglage et
programmation de titres
INSTALLATION DE LA PILE DE LA TÉLÉCOMMANDE
Le compartiment à piles est situé à l’arrière de la télécommande.
Retirez le couvercle du compartiment à piles en appuyant sur sa
languette et en le soulevant.
Insérez deux (2) piles de type AAA (non fournies) dans le compartiment à
piles en respectant les polarités indiquées dans le compartiment à piles.
Remettez le couvercle du compartiment à piles.

Table of Contents

Related product manuals