EasyManua.ls Logo

SPHINX Project Twelve - Rear Panel

SPHINX Project Twelve
23 pages
Print Icon
To Next Page IconTo Next Page
To Next Page IconTo Next Page
To Previous Page IconTo Previous Page
To Previous Page IconTo Previous Page
Loading...
SPHINX Project Twelve Service Manual
5
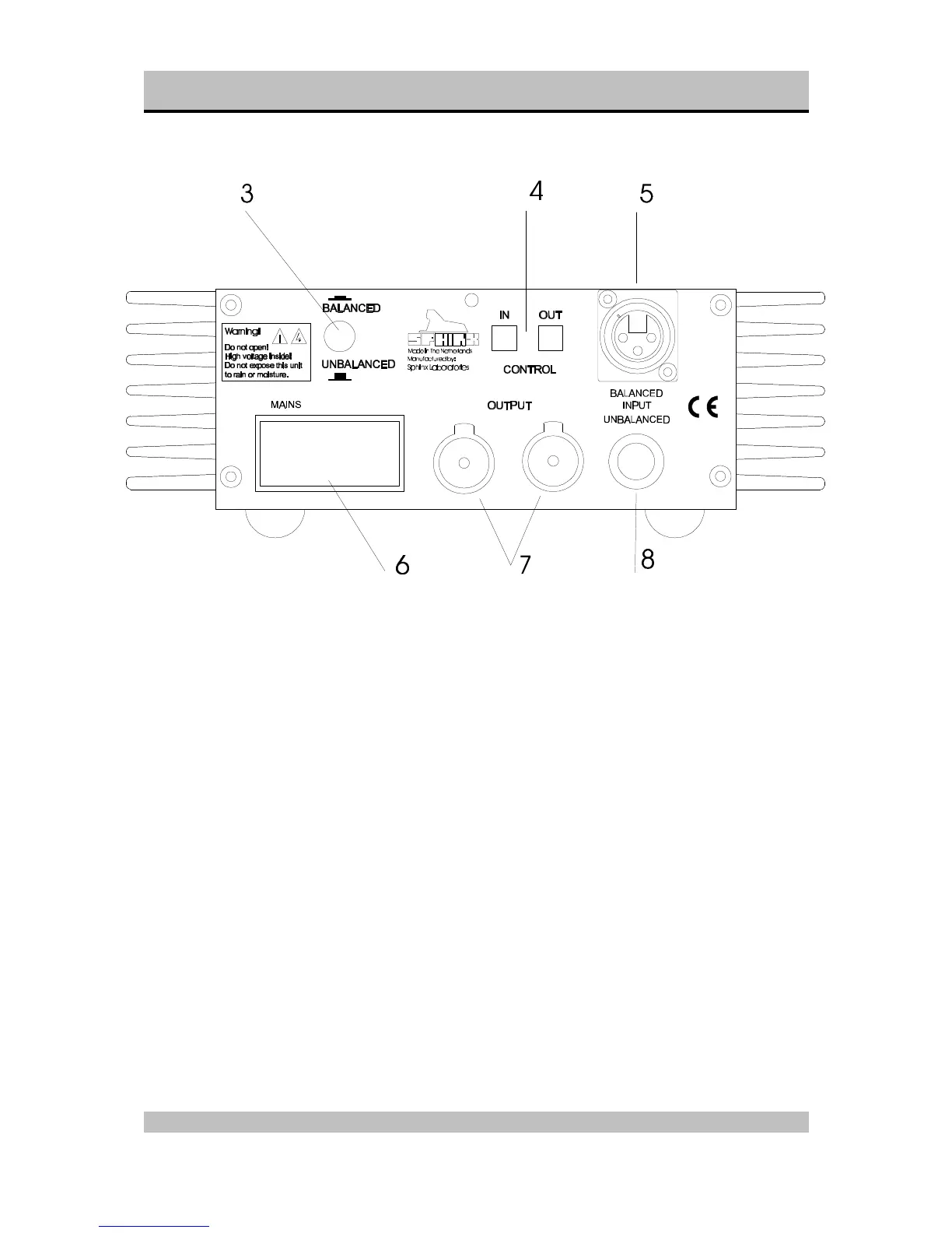
Rear panel
3. BALANCED/UNBALANCED: With this switch
you may select the balanced input (5.) or the
unbalanced input (8).
4. CONTROL IN: To connect the optical cable
from another Sphinx component like a pre-amp.
CONTROL OUT: To connect the optical cable
that goes to another Sphinx component.
5. BALANCED INPUT: To connect the balanced
XLR cable from the pre-amp output.
6. MAINS: This is the combined mains master
switch (0/1) and input.
MAINS: To connect the power amp to a mains
outlet (230 - 240 VAC).
7. OUTPUT: To connect the cable from the
loudspeaker:
red +
white -
8. UNBALANCED INPUT: To connect the
unbalanced cinch cable from the pre-amp
output.
Manufacturer's label: Here you'll find
important data on this component, such as
serial number and mains voltage to be used.

Other manuals for SPHINX Project Twelve

Related product manuals