EasyManua.ls Logo

Steinbach 8500 - Instalación; Montaje del Adaptador en Los Extremos de la Manguera

Steinbach 8500
Print Icon
To Next Page IconTo Next Page
To Next Page IconTo Next Page
To Previous Page IconTo Previous Page
To Previous Page IconTo Previous Page
Loading...
2. Tienda los conductos de manguera de la instalación de tratamiento de agua al lugar de colocación
de la bomba de calor (véase fig.E).
Tenga cuidado de que las líneas tendidas hacia la bomba de calor no estén tensas y no
obstaculicen caminos.
3. Tienda una línea de alimentación de tensión para la bomba de calor (véase el capítulo «Datos
técnicos»).
¡Utilice una alargadera o un enchufe con la clase de protección adecuada para las condiciones
ambientales del lugar de conexión!
4. Tienda una tubería de descarga (manguera de jardín 13 mm, 1/2") para el agua condensada que
se produce durante la refrigeración al desagüe del fondo, el recipiente de recogida o el fondo
absorbente.
Sin tubería de descarga el agua condensada pasa de la tubuladura de desagüe
directamente al
lugar de colocación.
5. Marque los puntos de taladro para el anclaje al suelo por los orificios de las patas de apoyo de la
bomba de calor (véase fig.D).
6. Retire la bomba de calor del lugar de colocación.
7. Taladre los orificios adecuados para el material de fijación seleccionado en el suelo empleando
una taladradora.
8. Coloque el material de fijación (p. ej., tacos) en los orificios.
El lugar de colocación se ha preparado.
Instalación
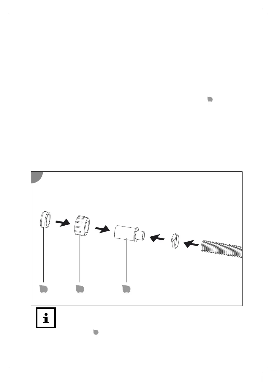
Montaje del adaptador en los extremos de la manguera
La bomba de calor es siempre el último eslabón de la instalación de tratamiento de agua.
Si se emplea una instalación de filtrado, sistema de cloración salina, etc., estos deben
montarse delante de la bomba de calor de forma que el agua filtrada preparada pase por
la bomba de calor.
1. Fije la boquilla portatubo
con una abrazadera de manguera en el extremo de la manguera del
tubo de alimentación (véase fig.1).
1
3
2
4
110

Table of Contents

Related product manuals