EasyManua.ls Logo

Steinbach 8500 - Installazione; Montaggio Delladattatore Allestremità del Tubo Flessibile

Steinbach 8500
Print Icon
To Next Page IconTo Next Page
To Next Page IconTo Next Page
To Previous Page IconTo Previous Page
To Previous Page IconTo Previous Page
Loading...
2. Posare sul luogo di installazione della pompa di calore le tubazioni per l’impianto di depurazione
dell’acqua (vedi Fig. E).
Fare attenzione che tutte le tubazioni posate verso la pompa di calore non sia in tensione né
impediscano il passaggio.
3. Installare una linea elettrica per l’alimentazione della pompa di calore (vedi capitolo “Dati tecnici”).
Utilizzare una prolunga oppure una presa con classe di protezione adatta per l’ambiente
circonstante al collegamento!
4. Installare il tubo di scarico (tubo da giardino 13 mm, 1/2”) per l’acqua di condensa che si forma
durante la fase di raffreddamento verso lo scarico a terra, il serbatoio di raccolta oppure verso una
base assorbente.
Senza il tubo di scarico l’acqua di condensa fuoriesce dal raccordo tubo di scarico
direttamente
sul luogo di installazione.
5. Contrassegnare i punti dove praticare i fori per l’ancora fondo attraverso i fori sui piedi di supporti
della pompa di calore (vedi Fig. D).
6. Spostare la pompa di calore dal luogo di installazione.
7. Praticare i fori con un trapano, sul materiale di fissaggio scelto per il terreno.
8. Posizionare nei fori il materiale di fissaggio, (ad es. tassello).
Il luogo di installazione è pronto.
Installazione
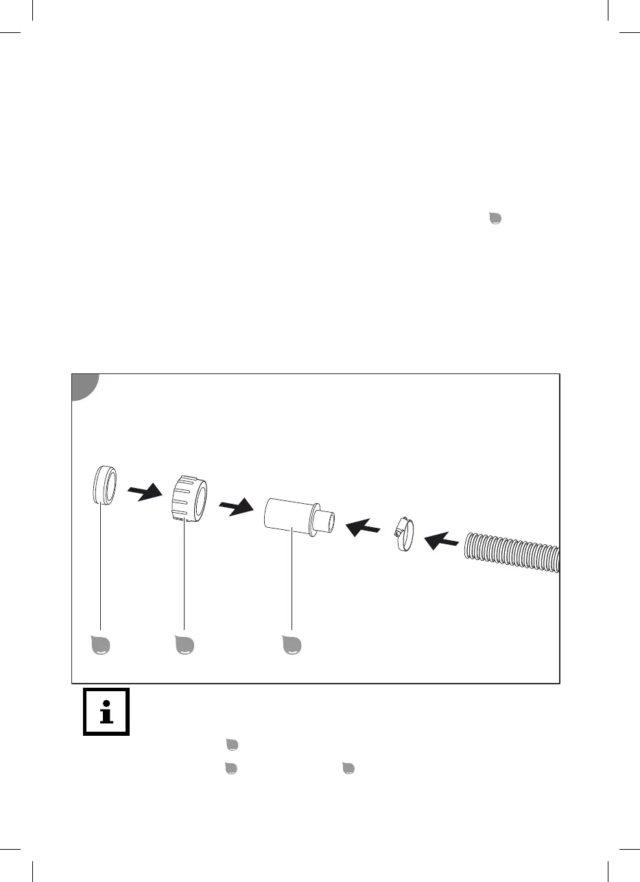
Montaggio dell’adattatore all’estremità del tubo flessibile
La pompa di calore rappresenta sempre l’ultimo tassello dell’impianto di trattamento
dell’acqua. Se si utilizza un impianto filtro, un impianto di salinizzazione, ecc. la pompa di
calore deve essere a monte, in modo tale che l’acqua filtrata possa passare attraverso la
pompa di calore stessa.
1. Fissare il rivestimento tubo
con una fascetta stringitubo sull’estremità del tubo flessibile di
ingresso (vedi Fig.1).
2. Inserire il dado di raccordo
sul rivestimento tubo
.
1
3
2
4
86

Table of Contents

Related product manuals