EasyManua.ls Logo

Steinbach 8500 - Instalacja; Montowanie Adapterów Na Końcach Węża

Steinbach 8500
Print Icon
To Next Page IconTo Next Page
To Next Page IconTo Next Page
To Previous Page IconTo Previous Page
To Previous Page IconTo Previous Page
Loading...
2. Poprowadź przewody giętkie od instalacji uzdatniania wody do miejsca ustawienia pompy ciepła
(patrz rys. E).
Pamiętaj, że przewody prowadzące do pompy ciepła nie mogą być naprężone ani blokować
przejścia.
3. Ułóż przewód zasilania elektrycznego pompy ciepła (patrz rozdział „Dane techniczne”).
Użyj przedłużacza lub gniazdka o klasie ochronności dostosowanej do warunków otoczenia
panujących w miejscu podłączenia!
4. Poprowadź przewód odpływowy (wąż ogrodowy 13 mm, 1/2") do wody kondensacyjnej powstającej
podczas chłodzenia do wpustu podłogowego, zbiornika lub chłonnego podłoża.
W przypadku braku przewodu odpływowego woda kondensacyjna będzie spływała z króćca
spustowego
bezpośrednio na miejsce ustawienia.
5. Zaznacz miejsca wiercenia otworów na kotwy gruntowe przez otwory w stopach pompy ciepła
(patrz rys. D).
6. Usuń pompę ciepła z miejsca ustawienia.
7. Wywierć wiertarką otwory odpowiednie dla wybranego materiału montażowego do zamocowania w
podłożu.
8. Umieść elementy montażowe (np. kołki) w otworach.
Miejsce ustawienia jest przygotowane.
Instalacja
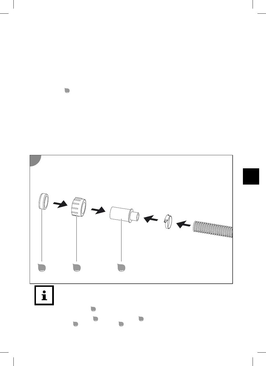
Montowanie adapterów na końcach węża
Pompa ciepła stanowi zawsze ostatnie ogniwo w instalacji uzdatniania wody. W
przypadku stosowania urządzenia filtrującego, urządzenia do elektrolizy soli itp. musi ono
zostać podłączone przed pompą ciepła, tak aby przefiltrowana, uzdatniona woda
przepływała przez pompę ciepła.
1. Zamocuj końcówkę węża
za pomocą opaski zaciskowej na końcu przewodu dopływowego
(patrz rys. 1).
2. Nałóż nakrętkę kołpakową
na końcówkę węża
.
3. Wsuń uszczelkę
na końcówkę węża
na tyle, aby koniec rury wystawał na szerokość kciuka.
1
3
2
4
205
pl

Table of Contents

Related product manuals