EasyManua.ls Logo

Stihl FS 111

Stihl FS 111
124 pages
To Next Page IconTo Next Page
To Next Page IconTo Next Page
To Previous Page IconTo Previous Page
To Previous Page IconTo Previous Page
Loading...
FS 111, FS 111 R
español / EE.UU
86
N Bloquee el eje (4) con el pasador de
tope (2).
N Apriete la cabeza segadora (3) bien
firme.
INDICACIÓN
Quite la herramienta usada para
bloquear el eje.
Retire la cabeza segadora.
N Bloquee el eje (4) con el pasador de
tope (2).
N Destornille y quite la cabeza
segadora (3) en sentido horario.
Colocación de cabeza segadora sin
tornillo de montaje
Guarde la hoja de instrucciones de la
cabeza segadora en un lugar seguro.
STIHL FixCut 31-2
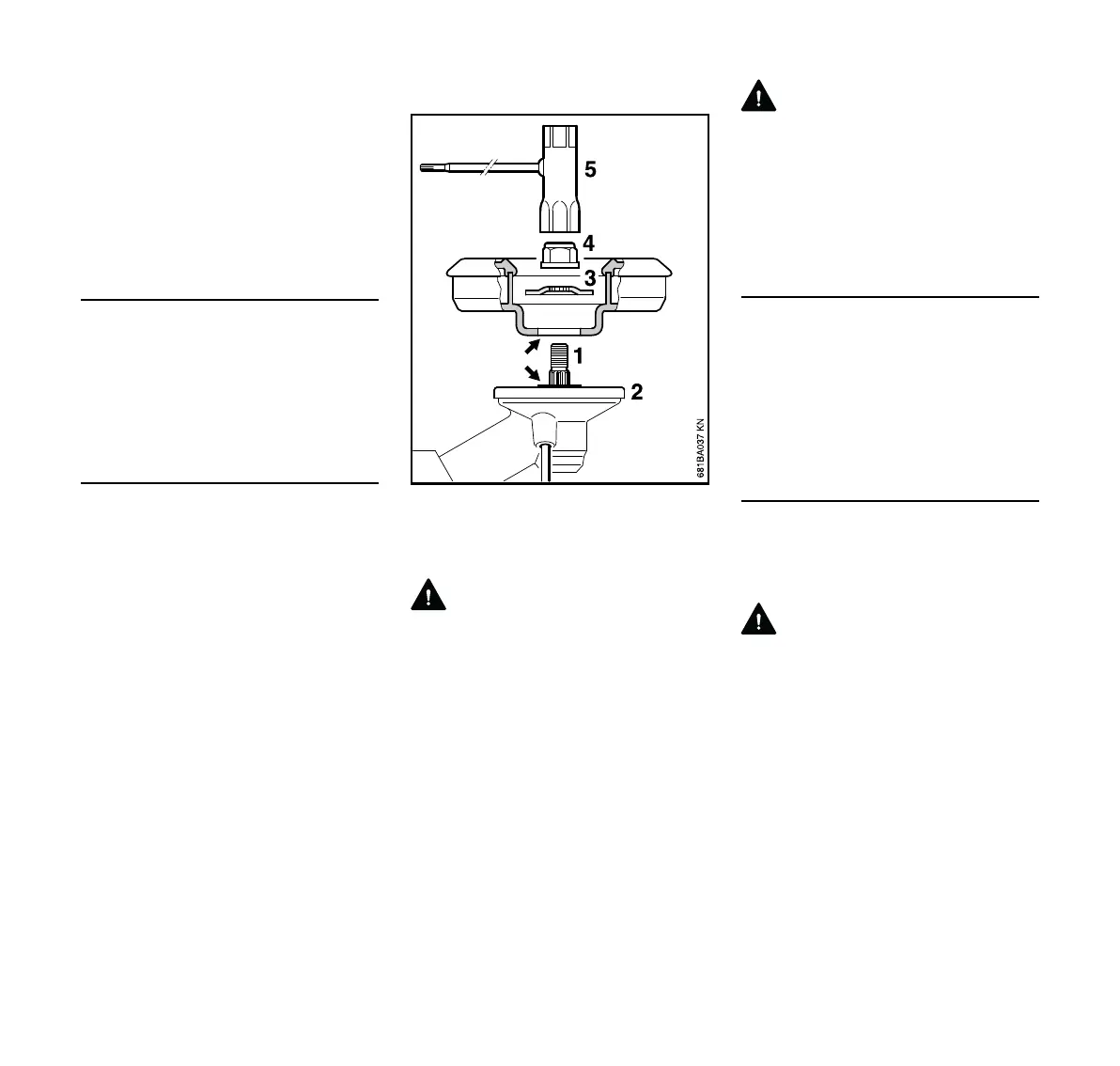
N Instale la placa de empuje (2).
N Coloque la cabeza segadora en la
placa de empuje (2).
ADVERTENCIA
El collar (vea las flechas) debe encajar
en el agujero de montaje de la cabeza
segadora.
N Empuje la arandela de empuje (3)
(lado convexo hacia arriba) sobre el
eje (1) hasta que se coloque contra
la base.
N Bloquee el eje.
N Utilice la llave combinada (5) para
atornillar la tuerca de montaje (4) en
el eje de salida y apriétela
firmemente.
ADVERTENCIA
Si la tuerca de montaje está demasiado
floja, instale una nueva.
INDICACIÓN
Quite la herramienta usada para
bloquear el eje.
Retiro de la cabeza segadora
N Bloquee el eje.
N Use la llave combinada para aflojar
y destornillar la tuerca de montaje
en sentido contrahorario y quitarla
del eje de salida.
Montaje de accesorios de corte
metálicos
Conserve el folleto y material de
embalaje del accesorio de corte
metálica en un lugar seguro.
ADVERTENCIA
Use guantes protectores para reducir el
riesgo de contacto directo con los filos.
Monte solamente un accesorio de corte
metálico.

Table of Contents

Related product manuals