EasyManua.ls Logo

Stone 1050PM - Clutch Assembly - 1265 PM

Stone 1050PM
69 pages
Print Icon
To Next Page IconTo Next Page
To Next Page IconTo Next Page
To Previous Page IconTo Previous Page
To Previous Page IconTo Previous Page
Loading...
- 52 -
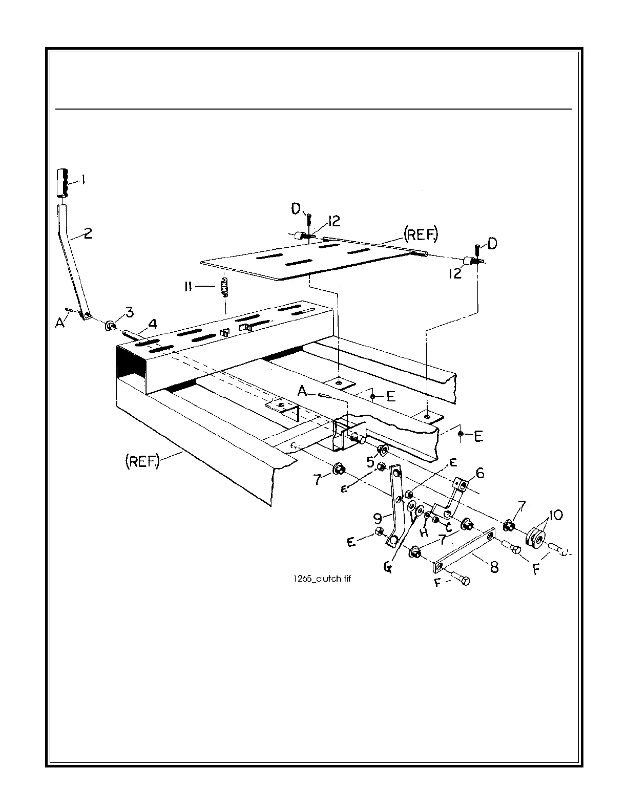
Parts List
1265PM Clutch Assembly

Related product manuals