EasyManua.ls Logo

Strom SBSP11S - Page 18

Strom SBSP11S
44 pages
Print Icon
To Next Page IconTo Next Page
To Next Page IconTo Next Page
To Previous Page IconTo Previous Page
To Previous Page IconTo Previous Page
Loading...
www.stromltd.com
STROM LIMITED 2020
18
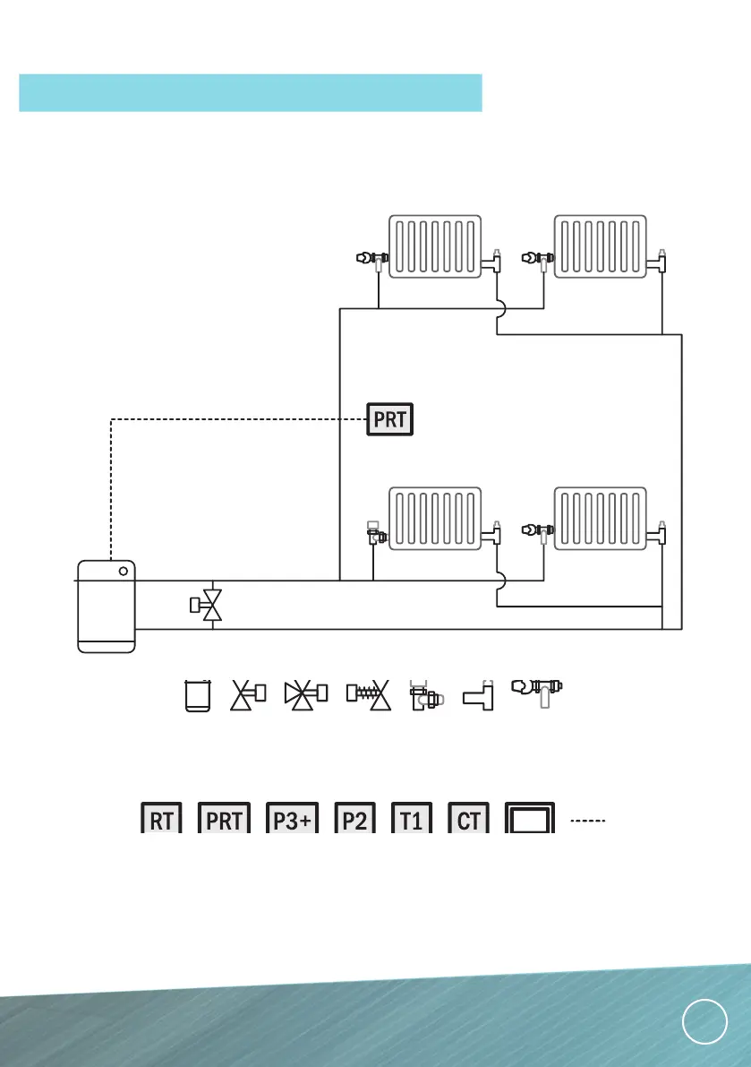
HEAT ONLY BOILER
PROGRAMABLE ROOM THERMOSTAT & TRV’S - 2 PORT VALVE CONTROL (<150m
2
)
Electric Boilers
DIAGRAMS PROVIDED AS GUIDANCE ONLY, FINAL DESIGN SHOULD BE DECIDED UPON BY A QUALIFIED
PLUMBER INLINE WITH CURRENT PART L GUIDELINES.
PART L COMPLIANT LAYOUTS
BOILER 2 PORT 3 PORT ABV WHEEL
HEAD
VALVE
LOCK
SHIELD
VALVE
THERMASTIC
RAD VALVE
ROOM
STAT
PROG
ROOM
STAT
MULTI
CHAN
PROG
TWO
CHAN
PROG
ONE
CHAN
PROG
CYL
STAT
JUNCT.
BOX
WIRING

Related product manuals