EasyManua.ls Logo

Strom System E-Boiler Series - Page 22

Strom System E-Boiler Series
44 pages
Print Icon
To Next Page IconTo Next Page
To Next Page IconTo Next Page
To Previous Page IconTo Previous Page
To Previous Page IconTo Previous Page
Loading...
www.stromltd.com
STROM LIMITED 2020
22
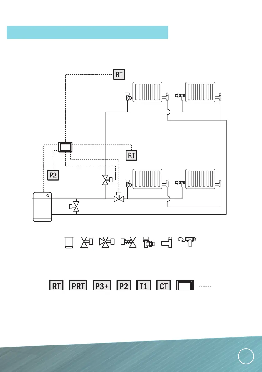
COMBINATION BOILER
TWIN ZONE PROGRAMMER, THERMOSTATS & TRV’S (150m
2
+)
Electric Boilers
DIAGRAMS PROVIDED AS GUIDANCE ONLY, FINAL DESIGN SHOULD BE DECIDED UPON BY A QUALIFIED
PLUMBER INLINE WITH CURRENT PART L GUIDELINES.
PART L COMPLIANT LAYOUTS
BOILER 2 PORT 3 PORT ABV WHEEL
HEAD
VALVE
LOCK
SHIELD
VALVE
THERMASTIC
RAD VALVE
ROOM
STAT
PROG
ROOM
STAT
MULTI
CHAN
PROG
TWO
CHAN
PROG
ONE
CHAN
PROG
CYL
STAT
JUNCT.
BOX
WIRING

Related product manuals