EasyManua.ls Logo

Sylvania SRT902A - SYLVANIA SRT902 A Panel Button Descriptions

Sylvania SRT902A
19 pages
Print Icon
To Next Page IconTo Next Page
To Next Page IconTo Next Page
To Previous Page IconTo Previous Page
To Previous Page IconTo Previous Page
Loading...
-4-
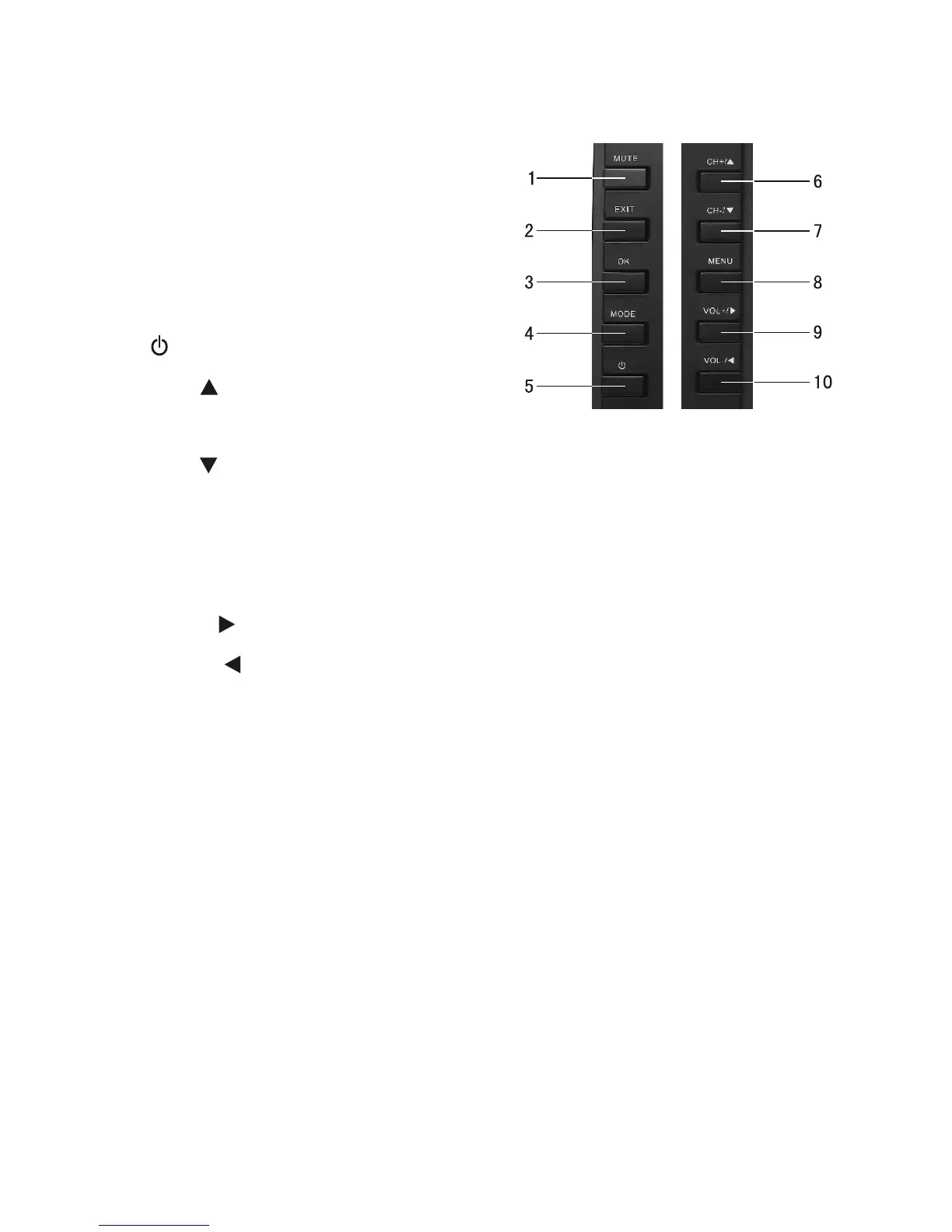
IV Description of Panel Buttons
1. MUTE: Mute button.
2. EXIT: Exit button.
3. OK: Confirm button.
4. MODE:
5. : Standby button.
6
TV/AV/External storage
switch.
. CH+/ : Upward selection/Channel
increasing.
7. CH-/ : Downward selection/Channel decreasing.
8. MENU: Menu button, press to show the main menu. When system
enters a multilevel submenu, press to return the previous menu step
by step.
9. VOL+/ : Rightward selection/For volume increasing.
10. VOL-/ : Leftward selection/For volume decreasing.

Related product manuals