EasyManua.ls Logo

SYSMEX KX-21 - Page 121

SYSMEX KX-21
306 pages
Print Icon
To Next Page IconTo Next Page
To Next Page IconTo Next Page
To Previous Page IconTo Previous Page
To Previous Page IconTo Previous Page
Loading...
MAINTENANCE AND SUPPLIES REPLACEMENT
4-34 Sysmex KX-21 Operator’s Manual -- Revised October 1998
(1) Make ready a new reagent and check to see that expiration date is not passed.
CELLPACK, if used just after delivery via transit, sometimes develop a
background error.
In handling a reagent that may have frozen, follow the precautions
given on the Package Insert. Otherwise, correct analysis result may
not be obtained.
Leave the reagent at room temperature (15 - 30°C) for at least 24 hours
before using.
After unpacking, take care to prevent entry of dirt, dust, and bacteria.
Table 4-8-1: Expiration After Opening the Seal
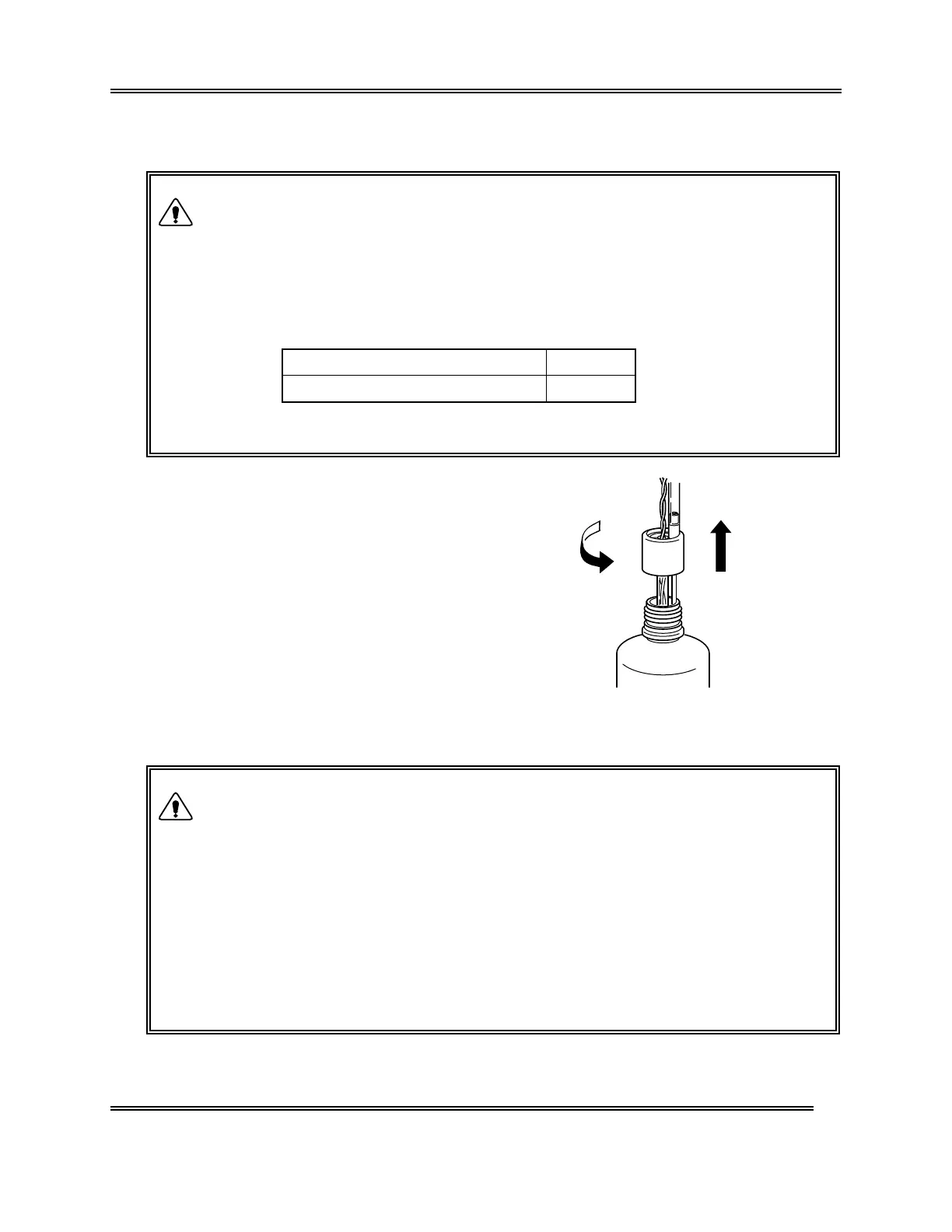
(2) Remove the cap from the new
reagent bottle.
(3) Remove the cap from the empty
reagent bottle and pull out the
cubitainer spout set straight up.
(4) Insert the cubitainer spout set
straight down into the new reagent
bottle and tighten the cap.
Figure 4-8-1: Pulling Out the Cubitainer
Spout Set
Take care not to grasp the tube dipping into the reagent and not allow
dust, etc. to adhere to the tube. If dust, etc. adheres to the tube, wash
it away with reagent in use before mounting. Otherwise, correct
analysis results may not be obtained.
Replace only fresh and fully bottled lyse reagent. Old or collected lyse
reagent will affect the analysis results.
Take care not to spill reagent. If it spills, wipe it off immediately using
wet cloth, etc. to prevent the floor color fading.
When replacing lyse, you do not need to disconnect the float switch. If
disconnected, connect it securely in prior to starting analysis. Starting
analysis with disconnected float switch will give you an error message
"No Lyse".
CAUTION
CAUTION
CELLPACK 20 L 60 days
STROMATOLYSER-WH 500 mL 90 days

Related product manuals