EasyManua.ls Logo

T.I.S. INSTRUMENTS MFT-PRO - RCD - Function Test of Residual Current Protections

T.I.S. INSTRUMENTS MFT-PRO
24 pages
Print Icon
To Next Page IconTo Next Page
To Next Page IconTo Next Page
To Previous Page IconTo Previous Page
To Previous Page IconTo Previous Page
Loading...
MFT-PRO
Quick reference guide
EN – 9
4.3. RCD – FUNCTION TEST OF RESIDUAL CURRENT PROTECTIONS
CAUTION
The instrument can be used for measurements on installations with overvoltage category CAT III 240V
to earth and CAT III 415V between inputs. Category CAT III is suitable for measurements carried out on
installations inside buildings with low voltage (examples are distribution boards, wirings, switches, fixed
installation sockets, electric motors, industrial equipment).
We recommend holding the alligator clamp respecting the safety area created by the hand protection
(see § 2.4).
If possible, disconnect all loads connected downstream of the residual current switch since they could
produce other leakage currents, further to those produced by the instrument, thus altering test results.
The results may be influenced by the presence of auxiliary circuits connected in parallel with the item to
be tested or by transient currents and/or electric potentials
The instrument allows performing tests on earth leakage relay RCD with currents up to
10A (with optional accessory RCDX10). Refer to the user manual for any details
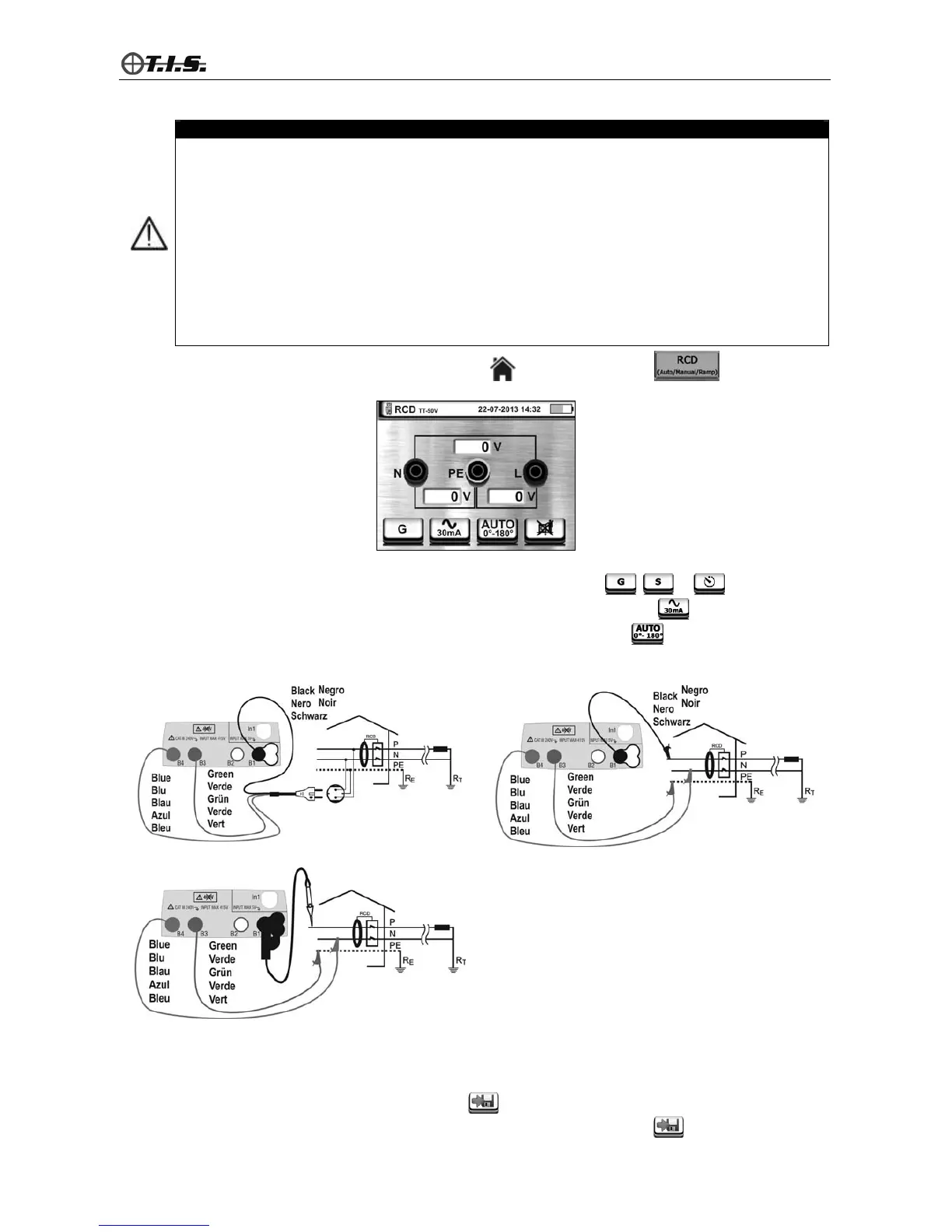
Access the general menu by pressing the HOME key and select function . The instrument
shows the following screen:
4.3.1. Measuring tripping time in AUTO mode
1. Select the RCD type by pressing key F1 or touching the relevant icon , or
2. Select the rated current by pressing key F2 or touching the relevant icon (e.g.:
)
3. Select AUTO mode by pressing key F3 or touching the relevant icon (e.g.:
)
4. Connect the measuring leads as shown in the following figures, which show typical situations: For the
description of other situations, please refer to the user manual.
Test on RCD with cable with Shuko-plug Test on RCD with measuring leads
Test on RCD with remote lead PR400
5. Press the GO/STOP key on the instrument or the START key on the remote lead PR400. The instrument
starts a series of six consecutive measurements (at ½, 1- and 5-fold Idn with polarity 0° and 180°) and
provides the results on the display, and it gives out a double sound in case of positive result
6. Press the SAVE key or touch the relevant icon
to save the result of measurement shown on the
display. Confirm saving by pressing the SAVE key again, or the relevant icon.