EasyManua.ls Logo

T.I.S. INSTRUMENTS MFT-PRO - MEASURING; Ω - Continuity Test on Protective Conductors

T.I.S. INSTRUMENTS MFT-PRO
24 pages
Print Icon
To Next Page IconTo Next Page
To Next Page IconTo Next Page
To Previous Page IconTo Previous Page
To Previous Page IconTo Previous Page
Loading...
MFT-PRO
Quick reference guide
EN – 7
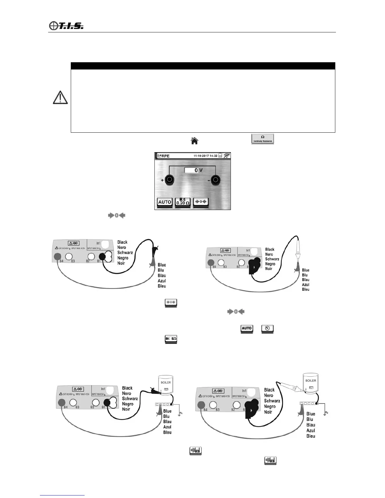
4. MEASURING
4.1. – CONTINUITY TEST ON PROTECTIVE CONDUCTORS
CAUTION
The instrument can be used for measurements on installations with overvoltage category CAT III 240V
to earth and CAT III 415V between inputs. Category CAT III is suitable for measurements carried out on
installations inside buildings with low voltage (examples are distribution boards, wirings, switches, fixed
installation sockets, electric motors, industrial equipment).
We recommend holding the alligator clip respecting the safety area created by the hand protection (see
§ 2.4).
Check that no voltage is present at the ends of the item to be tested before carrying out a continuity test.
The results may be influenced by the presence of auxiliary circuits connected in parallel with the item to
be tested or by transient currents.
Access the general menu by pressing the HOME key and select function . The instrument shows
the following screen:
The display of symbol ” in red indicates that no cable calibration has been performed.
4.1.1. Calibration of measuring cables
1. Connect the measuring leads as shown in the following figures:
Calibration with measuring leads Calibration with remote lead PR400
2. Press key F3 or touch the relevant icon
to start cable calibration.
3. At the end of calibration, the instrument will display the symbol “
” in green.
4.1.2. Measuring in AUTO mode
1. Select AUTO mode by pressing key F1 or touching the relevant icon or
2. Press key F2 or touch the relevant icon
to set the minimum level for measurement
3. Connect the measuring leads as shown in the following figures
4. Press the GO/STOP key on the instrument or the START key on the remote lead PR400. The instrument
starts measuring and provides a result on the display, then gives out a double sound in case the result is
positive
Continuity with measuring leads Continuity with remote lead PR400
5. Press the SAVE key or touch the relevant icon
to save the result of measurement shown on the
display. Confirm saving by pressing the SAVE key again, or the relevant icon.