EasyManua.ls Logo

Taarup 4032C - Page 66

Default Icon
80 pages
Print Icon
To Next Page IconTo Next Page
To Next Page IconTo Next Page
To Previous Page IconTo Previous Page
To Previous Page IconTo Previous Page
Loading...
66
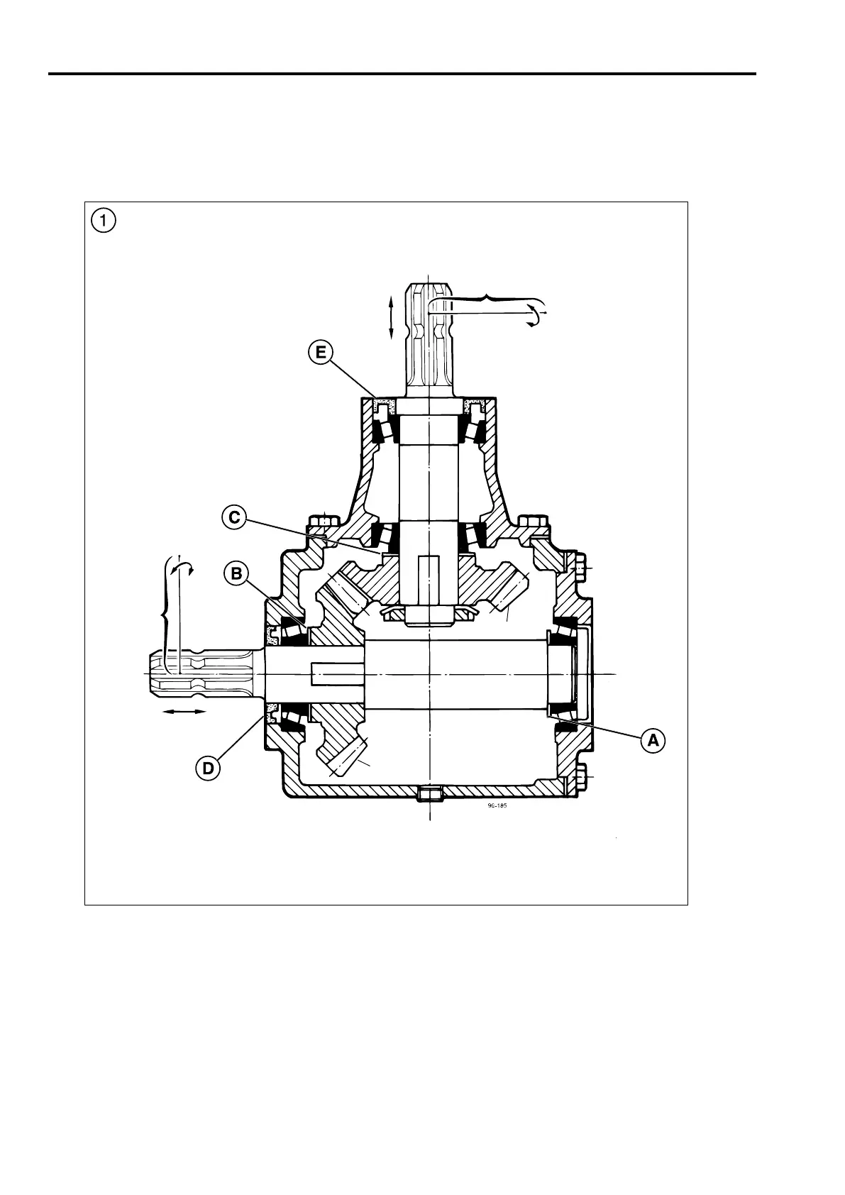
1,4 - 3,8 mm
500 mm
0 - 0,05 mm
0 - 0,05 mm
500 mm
1,4 - 3,8 mm
z=21
z=21

Table of Contents

Related product manuals