EasyManua.ls Logo

Tascam CD-9010 - 2 - Names and Functions of Parts; Front Panel Controls - Part 1

Tascam CD-9010
40 pages
Print Icon
To Next Page IconTo Next Page
To Next Page IconTo Next Page
To Previous Page IconTo Previous Page
To Previous Page IconTo Previous Page
Loading...
8
TASCAM CD-9010
2 – Names and Functions of Parts
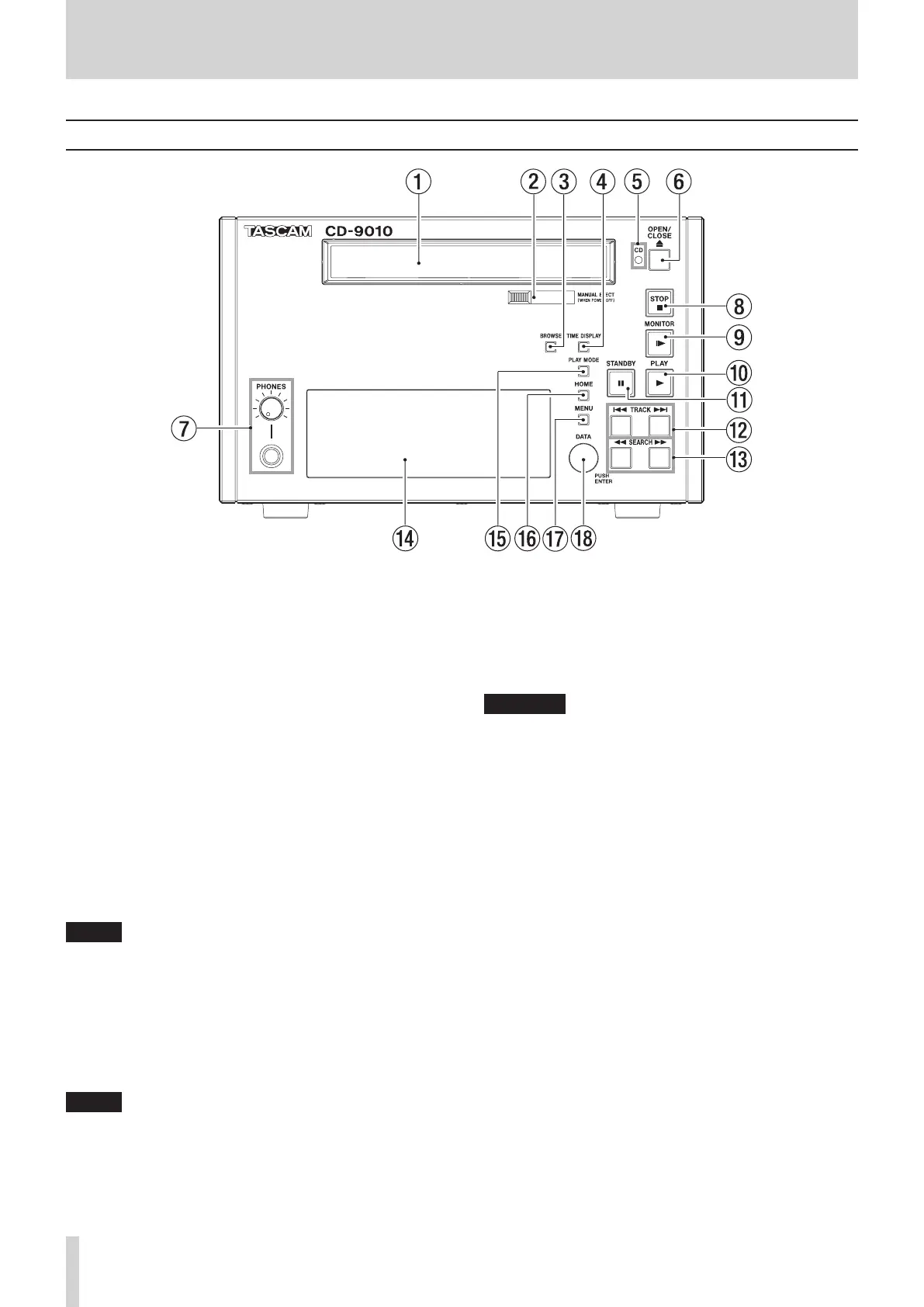
Disc tray

Press the OPEN/CLOSE button to open the disc tray to load
or remove discs.
Press the OPEN/CLOSE button again to close the disc tray.
MANUAL EJECT

Use this to remove a disc when the power is off.
BROWSE button

Press to open the
BROWSE
screen.
Use this screen to look inside folders on data CDs, for
example.
With audio CDs, use the screen to see its tracks.
TIME DISPLAY button

Press when the Home Screen is open to switch the time
display between elapsed track time and remaining track
time. This button only changes the display on this unit.
To change the time display on a connected TASCAM
RC-9010/RC-9010S remote control (sold separately), press
the TIME DISPLAY button on the remote.
When the Home Screen is open, press and hold this button
while turning the DATA dial to adjust the display contrast.
NOTE
This operation only adjusts the contrast of this unit. It does not
adjust the contrast of a connected TASCAM RC-9010/RC-9010S
remote control (sold separately).
CD indicator

This blinks when a CD is loaded. When data reading is
complete, the indicator stays lit and playback is possible.
OPEN/CLOSE button

Press this to open the disc tray.
NOTE
In order to reduce the amount of time required to remove a disc,
the disc tray will open before the disc has completely stopped.

PHONES jack/knob
Use this standard stereo jack to connect stereo headphones.
Use the PHONES knob to adjust the headphones output
level.
The knob can be pushed in and locked, allowing the unit
to be stored and transported safely. To unlock it, push it in
again. (See "Connecting headphones" on page 15.)
CAUTION
Before connecting headphones, use the PHONES knob to lower
the volume. Failure to do so might result in sudden loud sounds,
which could harm your hearing or result in other trouble.
STOP button/indicator
Press this button at any time to stop playback at the current
point.
Press this button during online or monitoring playback or
when in playback standby to stop playback.
This button lights when playback is stopped.
MONITOR button/indicator
Press this button to start monitoring playback.
The playback signal is output through the MONITOR
OUTPUTS (R/L) and the PHONES jack.
This button lights during monitoring playback.
PLAY button/indicator
Press when playback is stopped or in standby to start
playback. This button lights during playback or when in
playback standby.
When the ON LINE button on a connected TASCAM
RC-9010/RC-9010S remote control (sold separately) is
lit, or the
SYSTEM
menu
ONLINE FUNCTION
item is set to
AlwaysON
, online playback occurs and the playback signal is
output through the LINE OUTPUTS (R/L) and the DIGITAL
OUTPUT.
To send the signal through the MONITOR OUTPUTS (R/L)
and PHONES jack, set the
SYSTEM
menu
MON MUTE ONLINE
item to
OFF
. (See "Muting monitoring when online" on page
31.)
This button lights during online playback.
Front panel

Table of Contents

Related product manuals