EasyManua.ls Logo

Tascam IF-AE8 - Rear Panel

Tascam IF-AE8
8 pages
Print Icon
To Next Page IconTo Next Page
To Next Page IconTo Next Page
To Previous Page IconTo Previous Page
To Previous Page IconTo Previous Page
Loading...
IF-AE8 Digital Audio Converter
TASCAM IF-AE8
5
CONSUMER
IEC-60958 TYPE II format. The elec-
trical characteristics of the output connectors remain
the same, regardless of the data format selected.
6
Fs RATE CONVERT switch and
indicators
This switch provides two settings:
THRU-1
and
CONVERT
.
When the switch is set to
THRU-1
, the input signals
(selected using the
DIGITAL OUT
4
switch) will be
output from the
AES/EBU
output connectors at the
same frequency.
When the switch is set to
CONVERT
, the input sig-
nals will be output at the sampling frequency of the
clock source selected with the
CLOCK
switch
3
.
Note that any of the
DIGITAL I/O (AES/EBU)
INPUTS (1/2, 3/4, 5/6, 7/8)
8
may be selected as
the clock source for the converted signal. The
DIGITAL I/O (TDIF-1)
9
cannot be used as the
clock source for conversion, though both it and the
DIGITAL I/O (AES/EBU) OUTPUTS (1/2, 3/4,
5/6, 7/8)
7
can be the destination.
NOTE
The
AES/EBU
unit which provides this clock
source may be different from the unit which
provides either the input or the output signals.
You must, however, make sure that word
clock synchronization is correctly carried out.
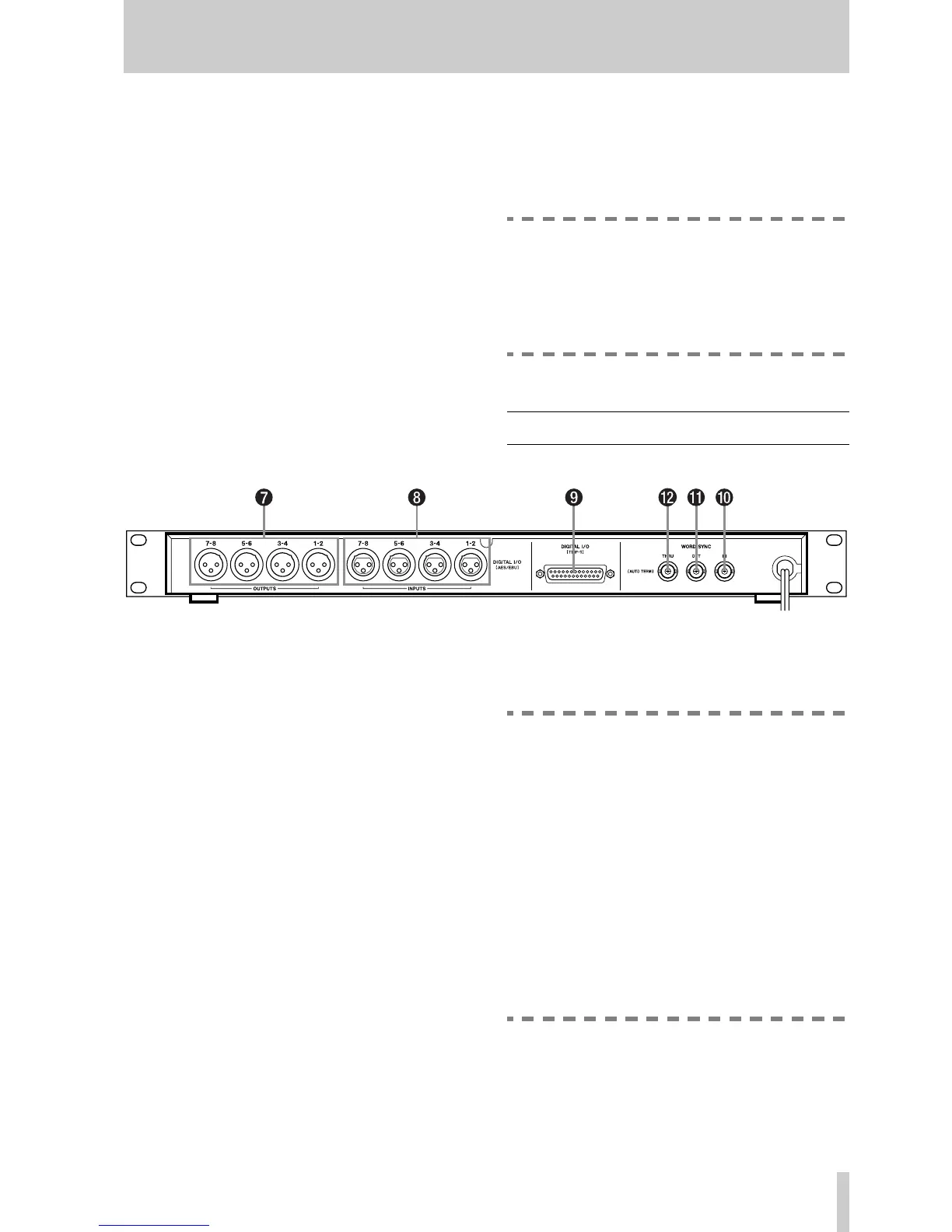
2 Rear panel
7
DIGITAL I/O (AES/EBU) OUTPUTS
(1/2, 3/4, 5/6, 7/8)
These balanced connectors output digital audio data
in AES3-1992 professional or in consumer format,
depending on the selection made with the
DIGITAL
OUT FORMAT
switch
5
.
The content of the data depends on the setting of the
DIGITAL OUT
switch
4
.
The sampling frequency of the output data depends
on the setting of the
Fs RATE CONVERT
switch
6
, and the currently-selected clock source
3
.
8
DIGITAL I/O (AES/EBU) INPUTS (1/2,
3/4, 5/6, 7/8)
These balanced connectors accept digital audio data
in AES3-1992 format.
The signal received at any of these connectors may
be selected as the clock source for the IF-AE8 using
the
CLOCK
switch
3
9
DIGITAL I/O (TDIF-1)
Use this connector to connect a suitably-equipped
TDIF-1 digital audio unit (e.g. a DTRS recorder or a
TASCAM digital mixing console).
The signals received at this connector may be
selected as the word clock source using the
CLOCK
switch
3
.
WARNING
Note that you should always use genuine
TASCAM cables, or cables which have been
approved for use with TDIF-1 interfaces by
TASCAM.
Although these cables appear similar to cer-
tain types of computer cables and use similar
connectors, the cables themselves are very
different, and the different electrical character-
istics of the cables can cause damage to the
equipment connected with the wrong cables.
If the use of cables other than TASCAM
cables causes or results in damage, the war-
ranty is voided.
A
WORD SYNC IN
The BNC connector accepts a word clock signal
from an external source.
It may be selected as the word clock source for the
IF-AE8 using the
CLOCK
switch
3
.

Related product manuals