EasyManua.ls Logo

Taylor 702 - Section 5: Important: To the Operator; Operational Indicators and Controls

Taylor 702
68 pages
Print Icon
To Next Page IconTo Next Page
To Next Page IconTo Next Page
To Previous Page IconTo Previous Page
To Previous Page IconTo Previous Page
Loading...

0RGHOV 
6\VWHPV DQG &RQWUROV
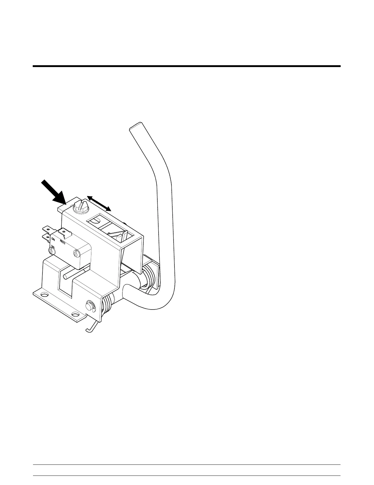
'UDZ 6ZLWFK
7KH GUDZ UDWH FDQ EH DGMXVWHG E\ UDLVLQJ DQG ORZHULQJ
WKH GUDZ VZLWFK EUDFNHW $ WHFKQLFLDQ VKRXOG SHUIRUP
WKLV WDVN DQG VHW WKH UDWH DW WR  RXQFHV RI SURGXFW
SHU  VHFRQGV
Service Manuals
TOC

Other manuals for Taylor 702

Related product manuals