EasyManua.ls Logo

TDK-Lambda ZUP Series - Page 40

TDK-Lambda ZUP Series
57 pages
Print Icon
To Next Page IconTo Next Page
To Next Page IconTo Next Page
To Previous Page IconTo Previous Page
To Previous Page IconTo Previous Page
Loading...
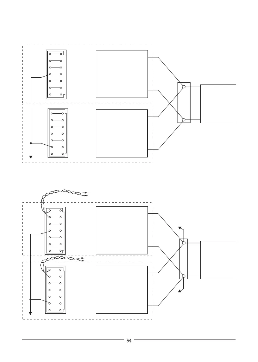
Fig. 4-10: Local sensing with
distribution terminals.
(ZUP rear panel view)
Fig. 4-11: Auto parallel with
remote sensing
(ZUP rear panel view)
-V
-V
-V
-V
+V
+V
+V
+V
+S
-S
LOAD
LOAD
MASTER
POWER
SUPPLY
MASTER
POWER
SUPPLY
SLAVE
POWER
SUPPLY
SLAVE
POWER
SUPPLY
+
+
_
_
-LS
-LS
-S
-S
+LS
+LS
+S
+S
On/Off
On/Off
COM
COM
P
P
VRFV
VRFV
VCVP
VCVP
VRFI
VRFI
VCCP
VCCP
RCVP
RCVP
To other slaves
RCCP
RCCP
-S
+S
-S
+S
-LS
-LS
-S
-S
+LS
+LS
+S
+S
On/Off
On/Off
COM
COM
P
P
VRFV
VRFV
VCVP
VCVP
VRFI
VRFI
VCCP
VCCP
RCVP
RCVP
To other slaves
RCCP
RCCP
Output Good
Output Good
Output Good
Output Good
2
2
2
2
14
14
14
14
1
1
1
1
13
13
13
13

Related product manuals