EasyManua.ls Logo

TDK-Lambda ZUP36-12 - Page 40

TDK-Lambda ZUP36-12
57 pages
Print Icon
To Next Page IconTo Next Page
To Next Page IconTo Next Page
To Previous Page IconTo Previous Page
To Previous Page IconTo Previous Page
Loading...
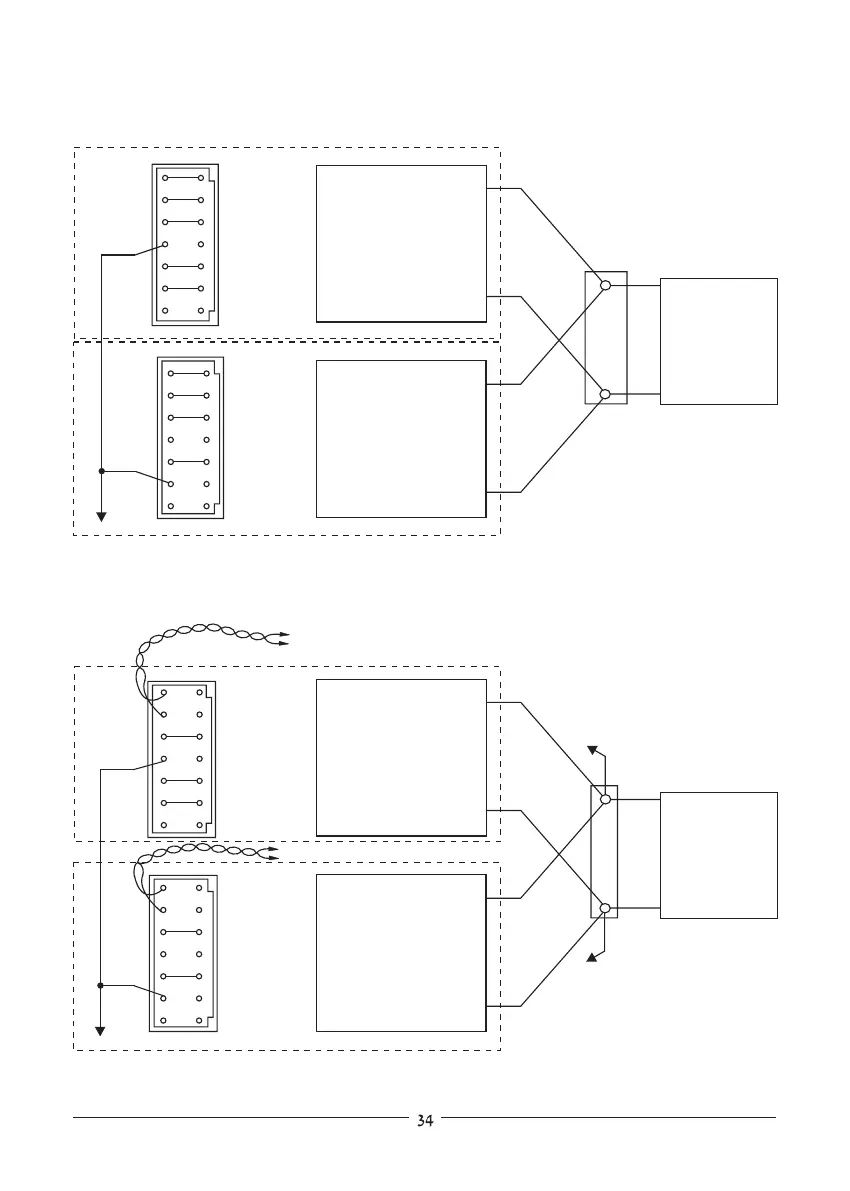
Fig. 4-10: Local sensing with
distribution terminals.
(ZUP rear panel view)
Fig. 4-11: Auto parallel with
remote sensing
(ZUP rear panel view)
-V
-V
-V
-V
+V
+V
+V
+V
+S
-S
LOAD
LOAD
MASTER
POWER
SUPPLY
MASTER
POWER
SUPPLY
SLAVE
POWER
SUPPLY
SLAVE
POWER
SUPPLY
+
+
_
_
-LS
-LS
-S
-S
+LS
+LS
+S
+S
On/Off
On/Off
COM
COM
P
P
VRFV
VRFV
VCVP
VCVP
VRFI
VRFI
VCCP
VCCP
RCVP
RCVP
To other slaves
RCCP
RCCP
-S
+S
-S
+S
-LS
-LS
-S
-S
+LS
+LS
+S
+S
On/Off
On/Off
COM
COM
P
P
VRFV
VRFV
VCVP
VCVP
VRFI
VRFI
VCCP
VCCP
RCVP
RCVP
To other slaves
RCCP
RCCP
Output Good
Output Good
Output Good
Output Good
2
2
2
2
14
14
14
14
1
1
1
1
13
13
13
13

Related product manuals