EasyManua.ls Logo

Teac A-3300 - Page 59

Teac A-3300
102 pages
Print Icon
To Next Page IconTo Next Page
To Next Page IconTo Next Page
To Previous Page IconTo Previous Page
To Previous Page IconTo Previous Page
Loading...
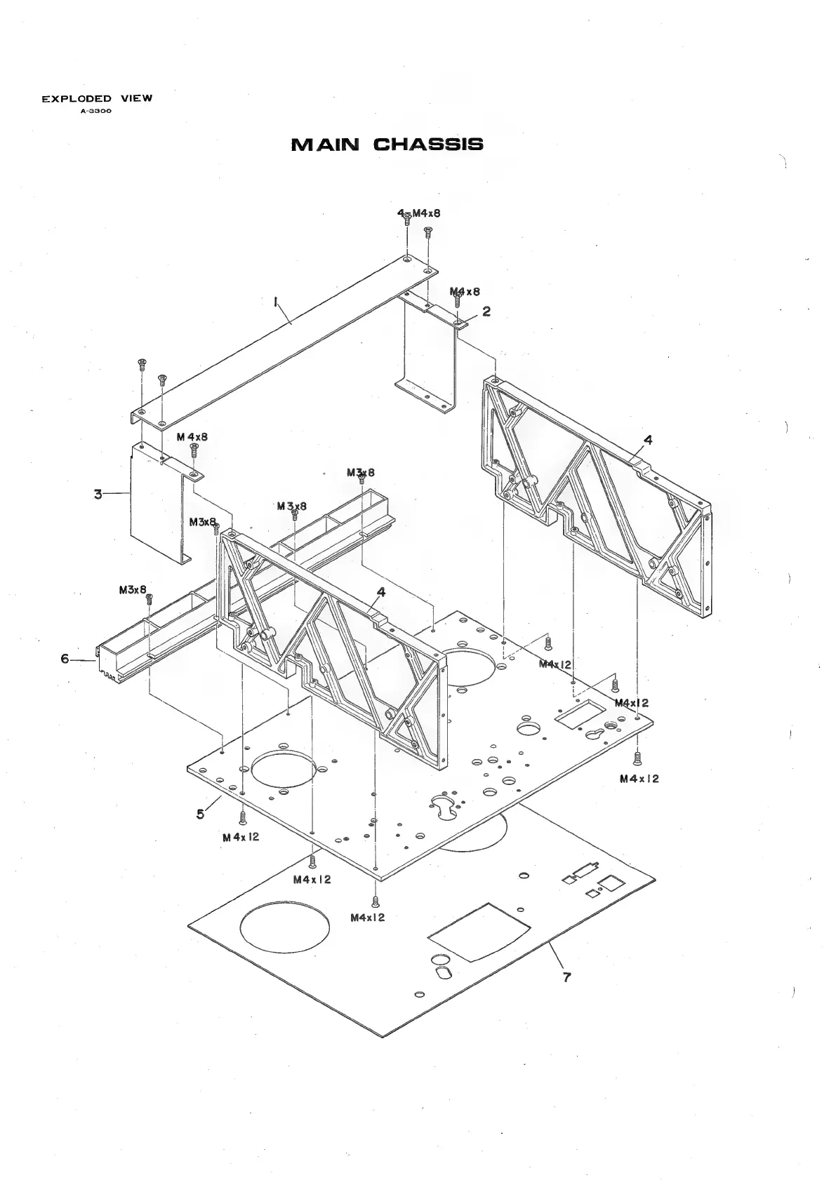
EXPLODED
VIEW
A-3300
MAIN
CHASSIS

Related product manuals