EasyManua.ls Logo

Teac V-2RX - Page 30

Teac V-2RX
69 pages
Print Icon
To Next Page IconTo Next Page
To Next Page IconTo Next Page
To Previous Page IconTo Previous Page
To Previous Page IconTo Previous Page
Loading...
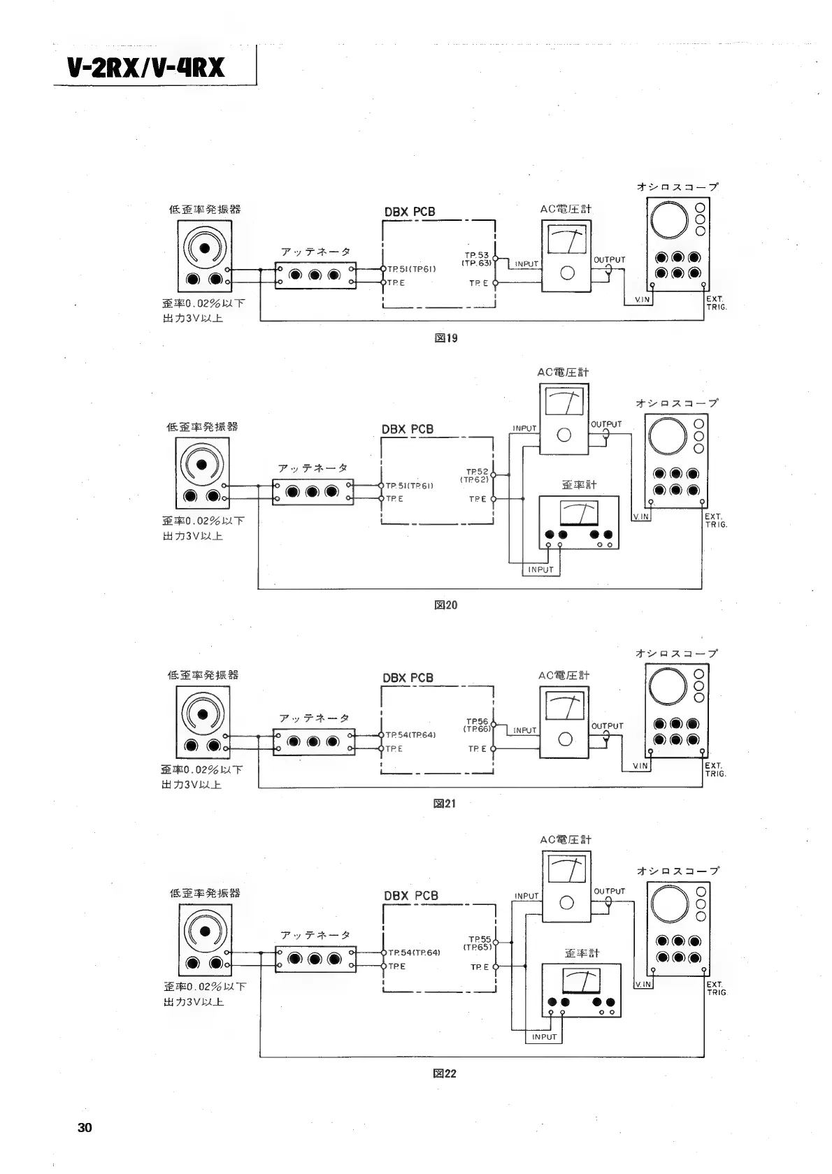
-V-2RX/V-4RX
{RE
RINGS
DBX
PCB
©@O®@
ae
Wie
:
©@®
©
OTRE
EEO
.02%
LAF
HH
73ViLE
{KEE
FER
aE
DBX
PCB
7
©@®@
©@®@
0.02%
LF
HH
FI3VELE
420
AYrARAIN-T
(REE
IR
DBX
PCB
©@®
@©@®@
BHO
.02%
LL
a
HA3VLLE
ACJ
at
AYAAarA-—T
(RE
ines
DBX
PCB
@@®
°
OTP.
54(TP.64)
7-4
©o@
OTPRE
TREO
EHO.
02%
LL
F
HHABVLAF
22
30

Related product manuals