EasyManua.ls Logo

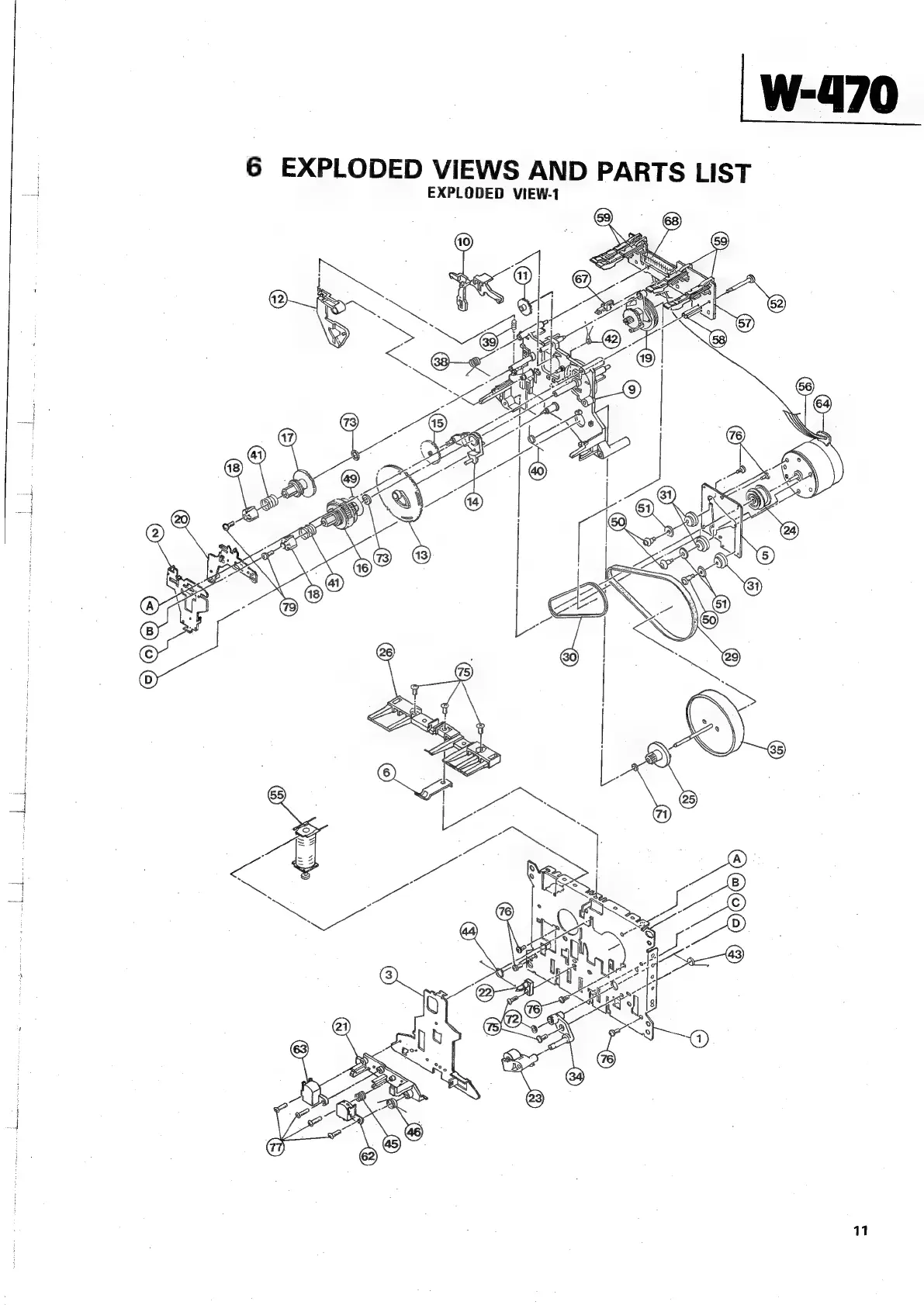
Teac W-470 - 6 Exploded Views and Parts List; Exploded View-1

Teac W-470
29 pages
Print Icon
To Next Page IconTo Next Page
To Next Page IconTo Next Page
To Previous Page IconTo Previous Page
To Previous Page IconTo Previous Page
Loading...
W-470
6
EXPLODED
VIEWS
AND
PARTS
LIST
EXPLODED
VIEW-1
|

Related product manuals