EasyManua.ls Logo

Teac W-890R - Écran

Teac W-890R
64 pages
Print Icon
To Next Page IconTo Next Page
To Next Page IconTo Next Page
To Previous Page IconTo Previous Page
To Previous Page IconTo Previous Page
Loading...
30
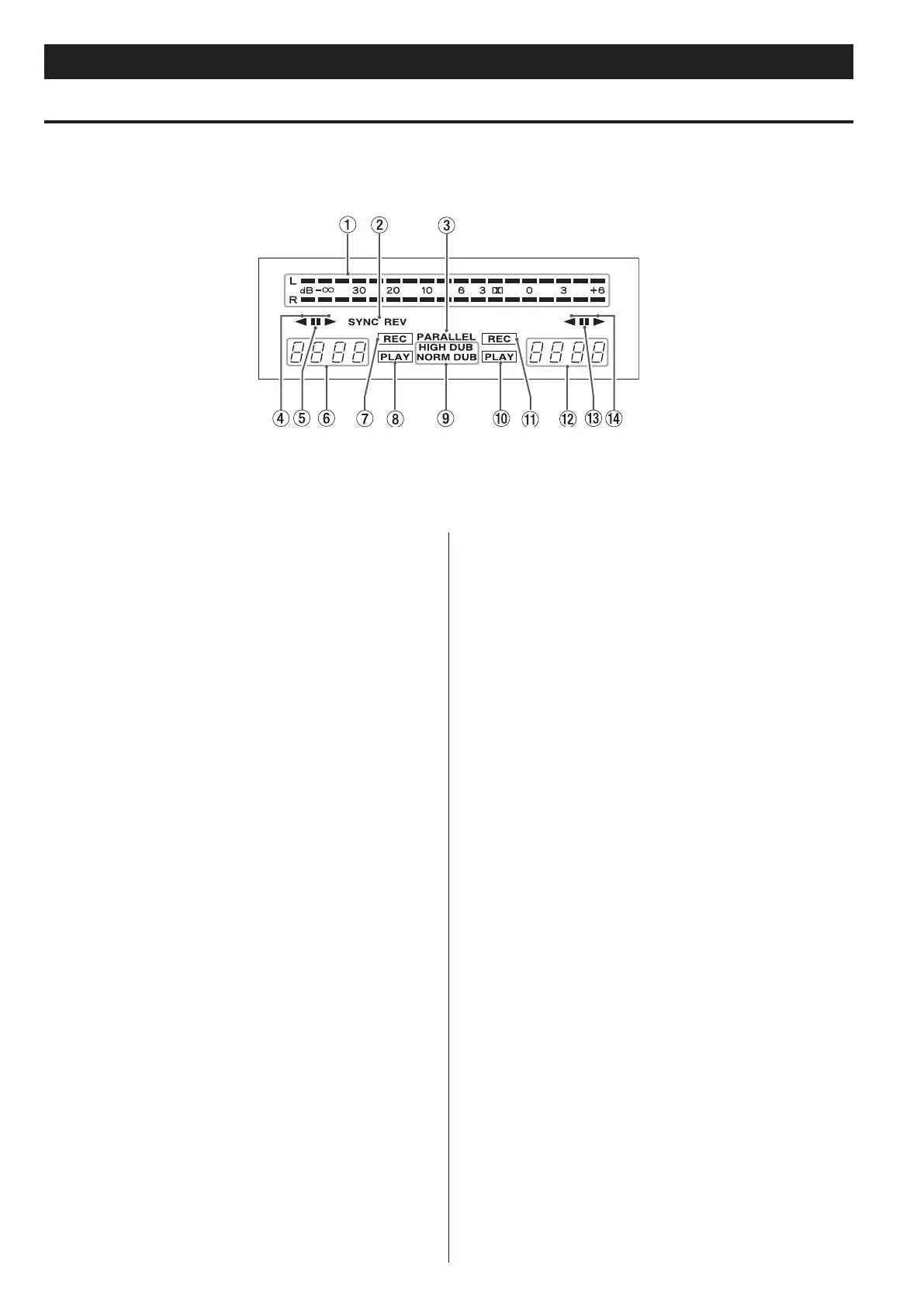
Description de la W-890R
Écran
Crête-tre
Affiche les niveaux d'enregistrement et de lecture.
SYNC REV
Ce témoin s'allume quand la fonction de copie avec retournement
synchronisé est activée.
PARALLEL
Ce témoin s'allume pour indiquer que l'enregistrement parallèle
est en service.
Témoin de direction de lecture/enregistrement de la platine
TAPE I
Témoin de pause
Ce témoin s'allume quand la platine TAPE I est temporairement
stoppée.
Compteur de bande de la platine TAPE I
Le compteur de bande indique la position relative de la bande.
Vous pouvez ramener le compteur à 0 quand vous le désirez.
Quand une opération de lecture en boucle A-B est en service,
4'
s'affiche.
Témoin d'enregistrement
Ce témoin s'allume quand la platine TAPE I est en mode
d'enregistrement.
Témoin de lecture
Ce témoin s'allume quand la platine TAPE I est en mode de lecture.
Témoin de copie
NORMAL DUB s'allume durant la copie à vitesse normale, et HIGH DUB
s'allume durant la copie à haute vitesse.
Témoin de lecture
Ce témoin s'allume quand la platine TAPE II est en mode de
lecture.
I Témoin d'enregistrement
Ce témoin s'allume quand la platine TAPE II est en mode
d'enregistrement.
O Compteur de bande de la platine TAPE II
Le compteur de bande indique la position relative de la bande.
Vous pouvez ramener le compteur à 0 quand vous le désirez.
Quand une opération de lecture en boucle A-B est en service,
4'
s'affiche.
= Témoin de pause
Ce témoin s'allume quand la platine TAPE II est temporairement
stoppée.
J Témoin de direction de lecture/enregistrement de la platine
TAPE II

Table of Contents