EasyManua.ls Logo

Teac W-890R - Display

Teac W-890R
64 pages
Print Icon
To Next Page IconTo Next Page
To Next Page IconTo Next Page
To Previous Page IconTo Previous Page
To Previous Page IconTo Previous Page
Loading...
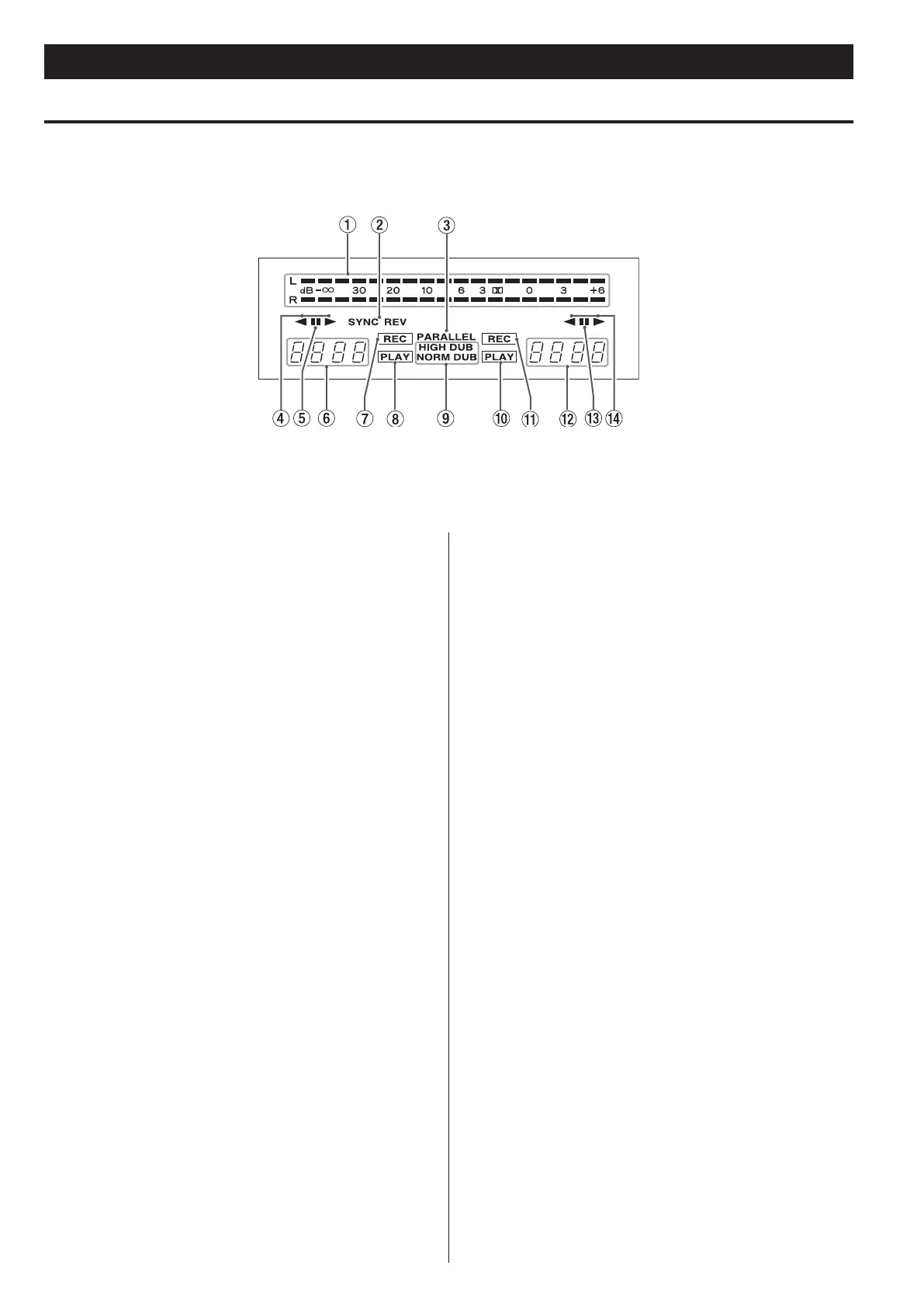
Medidor de nivel de picos
Le indica los niveles de grabación y reproducción.
SYNC REV
Este indicador se encenderá cuando esté activada la función de
duplicación reverse sincronizada.
PARALLEL
Le indica que está teniendo lugar una grabación en paralelo.
Indicador de dirección de reproducción / grabación de la
pletina TAPE I
Indicador de pausa
Se enciende cuando la pletina TAPE I esté detenida temporalmente
(en pausa).
Contador de cinta de la pletina TAPE I
Le indica la posición relativa de la cinta. Siempre que quiera puede
reinicializar el contador a cero.
Cuando esté activa una operación de repetición A-B, aquí
aparecerá la indicación
4'.
Indicador de grabación (REC)
Se enciende cuando la pletina TAPE I esté en el modo de
grabación.
8 Indicador de reproducción (PLAY)
Se enciende cuando la pletina TAPE I esté en el modo de
reproducción.
Indicador de duplicación
Se encenderá la indicación
NORMAL DUB cuando la duplicación
tenga lugar a velocidad normal, mientras que cuando se realice a
doble velocidad se iluminará la indicación
HIGH DUB.
Indicador de reproducción (PLAY)
Se enciende cuando la pletina TAPE I esté en el modo de
reproducción.
I Indicador de grabación (REC)
Se enciende cuando la pletina TAPE II esté en el modo de
grabación.
O Contador de cinta de la pletina TAPE II
Le indica la posición relativa de la cinta. Siempre que quiera puede
reinicializar el contador a cero.
Cuando esté activa una operación de repetición A-B, aquí
aparecerá la indicación
4'.
= Indicador de pausa
Se enciende cuando la pletina TAPE II esté detenida
temporalmente (en pausa).
J Indicador de dirección de reproducción / grabación de la
pletina TAPE II
Display
Características del W-890R
50

Table of Contents